EasyManua.ls Logo

Trane TCONT803AS32DA - Hookups

Trane TCONT803AS32DA
20 pages
Print Icon
To Next Page IconTo Next Page
To Next Page IconTo Next Page
To Previous Page IconTo Previous Page
To Previous Page IconTo Previous Page
Loading...
TCONT802AS32DA TOUCH SCREEN AND TCONT803AS32DA TOUCH SCREEN WITH DEHUMIDIFICATION
Pub. No. 18-HD25D19-3
3 69-1790—3
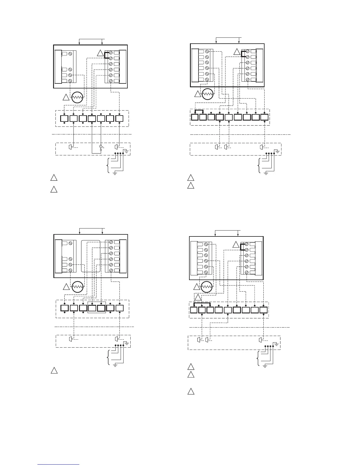
Fig. 5. Typical hookup of single-stage heat and cool
system with single transformer (1H/1C).
Fig. 6. Typical hookup of single-stage heat and cool
system with two transformers (1H/1C).
Fig. 7. Typical hookup of two-stage indoor and
two-stage cooling unit in a single transformer system
(2H/2C or 2H/1C or 1H/2C).
Fig. 8. Typical hookup of two-stage indoor and
two-step scroll cooling unit in a single transformer
system (2H/2C or 2H/1C or 1H/2C).
1
M22637
FACTORY INSTALLED JUMPER.
OPTIONAL OUTDOOR OR INDOOR REMOTE SENSOR. AVAILABLE
ON SELECT MODELS. WIRES MUST HAVE A CABLE SEPARATE
FROM THE THERMOSTAT CABLE.
1
2
2
RC
S1
R
S2
W1
Y
G
B
HEAT/COOL
T
B/C
W3
W2
W1
GYR
AIR
HANDLER
Y
B
COOLING UNIT
O.D. SECTION
(SINGLE STAGE)
TO POWER SUPPLY
PER LOCAL CODES
(3 PH
ONLY)
INDOOR
OUTDOOR
ODT
Y2
W2
OPTIONAL OUTDOOR OR INDOOR REMOTE SENSOR. AVAILABLE
ON SELECT MODELS. WIRES MUST HAVE A CABLE SEPARATE
FROM THE THERMOSTAT CABLE.
1
1
RC
S1
R
S2
W1
Y
G
B
HEAT/COOL
T
B/C
W
T
T
GYR
OIL
FURNACE
Y
B
COOLING UNIT
O.D. SECTION
(SINGLE STAGE)
TO POWER SUPPLY
PER LOCAL CODES
(3 PH
ONLY)
M22638
OIL BURNER PRIMARY
INDOOR
OUTDOOR
Y2
W2
1
M22640
FACTORY INSTALLED JUMPER.
OPTIONAL OUTDOOR OR INDOOR REMOTE SENSOR. AVAILABLE
ON SELECT MODELS. WIRES MUST HAVE A CABLE SEPARATE
FROM THE THERMOSTAT CABLE.
1
2
2
RC
S1
R
S2
W1
Y
G
B
HEAT/COOL
T
B/C
G
Y
Y
LO
BKR
VARIABLE SPEED
TWO-STAGE
FURNACE/VARIABLE
SPEED AIR HANDLER
B
COOLING UNIT
O.D. SECTION
(TWO STAGE)
TO POWER SUPPLY
PER LOCAL CODES
(3 PH
ONLY)
INDOOR
OUTDOOR
W2
Y2
O
Y2
W1
Y1
W2
1
M24231
FACTORY INSTALLED JUMPER.
OPTIONAL OUTDOOR OR INDOOR REMOTE SENSOR. AVAILABLE
ON SELECT MODELS. WIRES MUST HAVE A CABLE SEPARATE
FROM THE THERMOSTAT CABLE.
THE INSTALLER MUST JUMPER AT THE LVTB “R” TO “O”.
1
2
2
RC
S1
R
S2
W1
Y
G
B
HEAT/COOL
T
B/C
G
Y
Y
LO
BK R
VARIABLE SPEED
TWO STAGE
FURNACE
B
16 SEER
COOLING UNIT
O.D. SECTION
(TWO STEP)
TO POWER SUPPLY
PER LOCAL CODES
(3 PH
ONLY)
INDOOR
OUTDOOR
W2
Y2
O
Y2
W1
Y1
W2
3
3

Related product manuals