EasyManua.ls Logo

Transpak TP-6000-3 - Strapping Head Unit

Transpak TP-6000-3
121 pages
Print Icon
To Next Page IconTo Next Page
To Next Page IconTo Next Page
To Previous Page IconTo Previous Page
To Previous Page IconTo Previous Page
Loading...
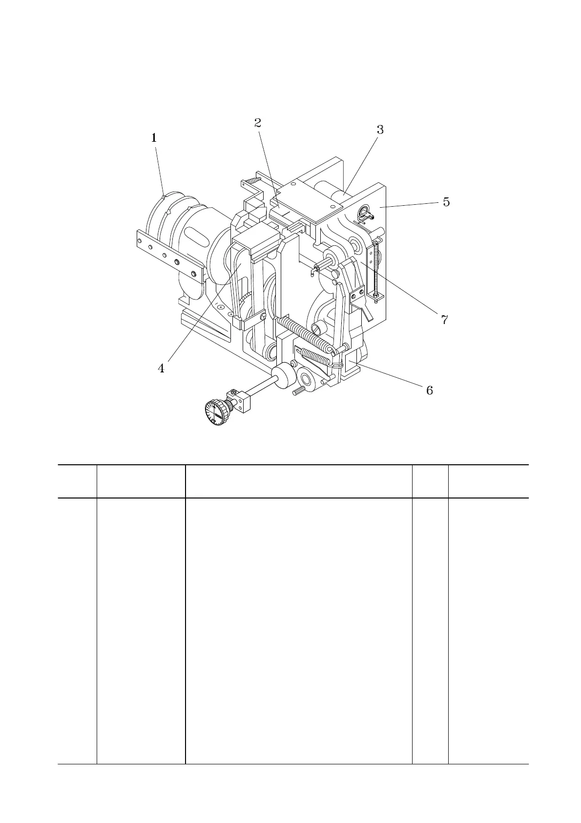
1 Cam Group (For 1PH)T6-1-10006 1 SEE PAGE 2
2
3
4
5
6
7
T6-1-20005
T6-1-30000
T6-1-40000
T6-1-50000
T6-1-60000
T6-1-70010
Slide Table Group (For 12mm)
Press Group
Heater Group
Strapping Head Group
Tension Group
Feed Group (For 12mm)
1
1
1
1
1
1
SEE PAGE 5
SEE PAGE 9
SEE PAGE 14
SEE PAGE 18
SEE PAGE 20
SEE PAGE 27
T6-1-90012 Strapping Head Unit (For 9mm) 1
T6-1-90013 Strapping Head Unit (For 15.5mm) 1
T6-1-90000 Strapping Head Unit (For 12mm) 1
STRAPPING HEAD UNIT
-1-
1 T6-1-90000
T6-1-90012
T6-1-90013
REF.
NO.
PART NO. DESCRIPTION REMARKS
Q'TY
Cam Group (For 3PH)T6-1-10007 1
T6-1-20007 Slide Table Group (For 15.5mm) 1
T6-1-20006 Slide Table Group (For 9mm) 1
T6-1-70011 Feed Group (For 9mm) 1
T6-1-70012 Feed Group (For 15.5mm) 1
01/18/08

Related product manuals