EasyManua.ls Logo

Tripp Lite SmartRack SRCABLELADDER18 - Conexión a Tierra

Tripp Lite SmartRack SRCABLELADDER18
32 pages
Print Icon
To Next Page IconTo Next Page
To Next Page IconTo Next Page
To Previous Page IconTo Previous Page
To Previous Page IconTo Previous Page
Loading...
15
3. Instalación
6
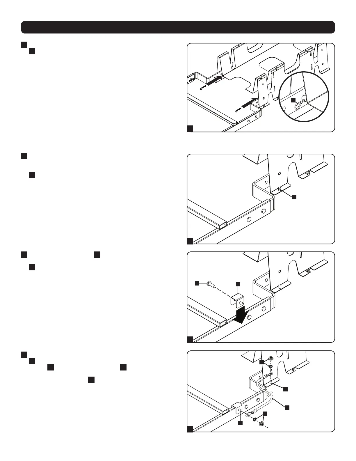
Luego de insertar los pasadores de horquilla, inserte una chaveta
G
en el orificio del extremo de cada pasador de horquilla. (La
sección recta de la chaveta debe atravesar el orificio).
3.6 Conexión a Tierra
1
Después de instalar la SRCABLELADDER18, determine dónde
colocar los soportes para el suelo tomando nota de la distancia
entre un extremo de la escalerilla y el puesto de conexión a tierra
A
en la esquina más cercana al SRCABLETRAY.
2
Coloque un soporte de tierra
B
cerca del extremo de la pata de
la SRCABLELADDER18 y utilice un tornillo de cabeza hexagonal
C
para asegurarlo.
3
Use las tuercas hexagonales y arandelas de seguridad incluidas
G
para conectar un extremo del cable de conexión a tierra
incluido
H
al poste de conexión a tierra
I
en la esquina del
más cercana al SRCABLETRAY y conecte el otro extremo al
poste de conexión a tierra
J
del soporte para tierra unido a
la SRCABLELADDER18. Repita los pasos 1 al 3 para el otro
extremo de la SRCABLELADDER18.
G
6
A
1
2
3
B
C
G
G
H
I
J

Table of Contents