EasyManua.ls Logo

Tripp Lite SmartRack SRCABLELADDER18 - Заземление

Tripp Lite SmartRack SRCABLELADDER18
32 pages
Print Icon
To Next Page IconTo Next Page
To Next Page IconTo Next Page
To Previous Page IconTo Previous Page
To Previous Page IconTo Previous Page
Loading...
31
3. Установка
6
После установки штифтов вставьте шплинт
G
через отверстие в конце каждого
штифта. (Прямой участок штифта проходит через отверстие).
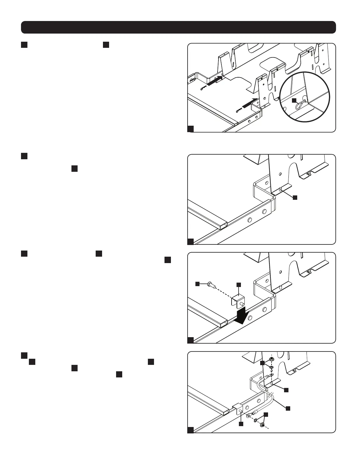
3.6 Заземление
1
После установки кабельного трапа SRCABLELADDER18 определите место размещения
кронштейнов для заземления с учетом расстояния между одним концом трапа и
заземляющим выводом
A
в углу ближайшего кабельного желоба SRCABLETRAY.
2
Поместите кронштейн для заземления
B
рядом с концом стойки кабельного трапа
SRCABLELADDER18 и закрепите его при помощи болта с шестигранной головкой
C
.
3
С помощью поставляемых в комплекте шестигранных гаек и контршайб
G
соедините один конец входящего в комплект кабеля заземления
В
с
заземляющим выводом
I
в углу ближайшего кабельного желоба SRCABLETRAY, а
другой конец кабеля — с заземляющим выводом
J
кронштейна для заземления,
прикрепленного к кабельному трапу SRCABLELADDER18. Повторите действия
1-3 для другого конца кабельного трапа SRCABLELADDER18.
G
6
A
1
2
3
B
C
G
G
H
I
J

Table of Contents