EasyManua.ls Logo

Tripp Lite SmartRack SRCABLELADDER18 - Ground Connection

Tripp Lite SmartRack SRCABLELADDER18
32 pages
Print Icon
To Next Page IconTo Next Page
To Next Page IconTo Next Page
To Previous Page IconTo Previous Page
To Previous Page IconTo Previous Page
Loading...
7
3. Installation
6
After inserting the clevis pins, insert a cotter pin
G
through the
hole at the end of each clevis pin. (The straight section of the
cotter pin goes through the hole.)
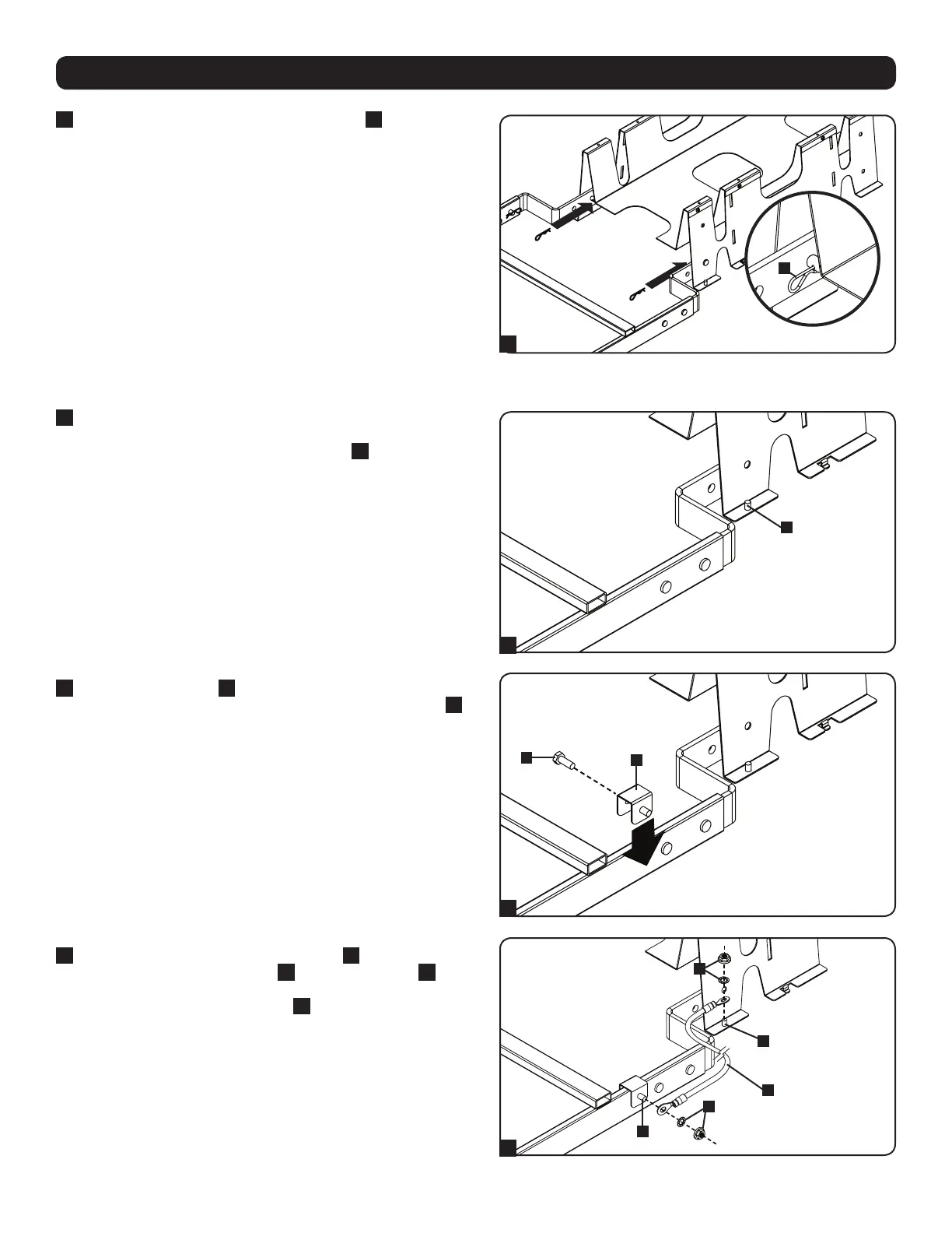
3.6 Ground Connection
1
After installing the SRCABLELADDER18 accessory, determine
where to place ground brackets by noting the distance between
one end of the ladder and the grounding post
A
at the corner of
the nearest SRCABLETRAY accessory.
2
Place a ground bracket
B
near the end of the
SRCABLELADDER18 accessory’s leg and use a hex-head bolt
C
to secure it.
3
Use the included hex nuts and lock washers
G
to connect one
end of the included ground cable
H
to a grounding post
I
at
the corner of the nearest SRCABLETRAY accessory and connect
the other end to the grounding post
J
of the ground bracket
attached to the SRCABLELADDER18 accessory. Repeat steps
1 to 3 for the other end of the SRCABLELADDER18 accessory.
G
6
A
1
2
3
B
C
G
G
H
I
J

Table of Contents