EasyManua.ls Logo

Tripp Lite SmartRack SRCABLELADDER18 - Connexion À la Terre

Tripp Lite SmartRack SRCABLELADDER18
32 pages
Print Icon
To Next Page IconTo Next Page
To Next Page IconTo Next Page
To Previous Page IconTo Previous Page
To Previous Page IconTo Previous Page
Loading...
23
3. Installation
6
Après avoir inséré les axes d'épaulement, insérer une
goupille fendue
G
dans le trou à l'extrémité de chaque axe
d'épaulement. (La section droite de la goupille fendue passe au
travers du trou.)
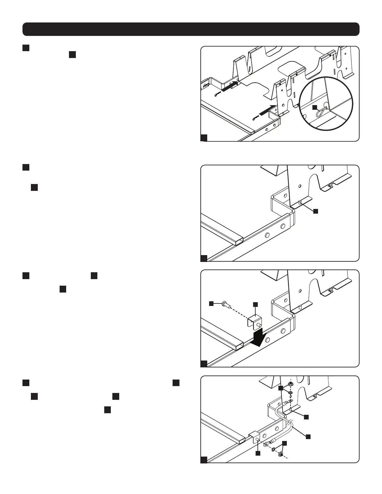
3.6 Connexion à la terre
1
Après avoir installé l'accessoire SRCABLELADDER18, déterminer
où placer les supports au sol en prenant en note la distance
entre une extrémité de l'échelle et le montant de mise à la terre
A
au coin de l'accessoire SRCABLETRAY le plus près.
2
Placer un support au sol
B
près de l'extrémité de la patte de
l'accessoire SRCABLELADDER18, puis utiliser un boulon à tête
hexagonale
C
pour le fixer en place.
3
Utiliser les écrous hexagonaux et les rondelles freins inclus
G
pour raccorder une extrémité du câble de mise à la terre inclus
H
au montant de mise à la terre
I
au coin de l'accessoire
SRCABLETRAY le plus près, puis connecter l'autre extrémité
au montant de mise à la terre
J
du support au sol fixé à
l'accessoire SRCABLELADDER18. Répéter les étapes
1 à 3 pour l'autre extrémité de l'accessoire SRCABLELADDER18.
G
6
A
1
2
3
B
C
G
G
H
I
J

Table of Contents