EasyManua.ls Logo

Triumph 45-6099BLU - Page 5

Triumph 45-6099BLU
18 pages
Print Icon
To Next Page IconTo Next Page
To Next Page IconTo Next Page
To Previous Page IconTo Previous Page
To Previous Page IconTo Previous Page
Loading...
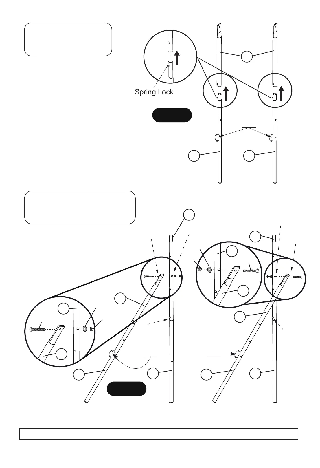
STEP 2
PARTS REQUIRED:
1 pc - #6 Left Mounting Tube
2 pcs - #7 Support Tube
1 pc - #8 Right Mounting Tube
Attach the Support Tubes (#7)
to the Left Mounting Tube (#6)
and Right Mounting Tube (#8)
using Spring Lock as shown
in FIGURE 2.
7
6 8
FIGURE 2
NOTE:
Triangle Plate
face inside
STEP 3
PARTS REQUIRED:
2 pcs - #24 M6 x 50mm Allen Head Bolt
2 pcs - #27 M6 Lock Nut
Attach tube from assembly STEP 2 to tube
assembly STEP 1 using Bolts (#24),
and Washers Lock Nuts (#27) (#22)
as shown in FIGURE 3.
Do not tighten Bolts
on this step.
6 8
7
43
2
2
NOTE:
Triangle Plate
face inside
NOTE:
Triangle Plate
Assemble
Outside
Spring lock
Forward
Spring lock
Forward
Middle hole
Middle hole
face inside
7
24
27
2
7
2
24
27
22
22
7
FIGURE 3
5
For Customer Service Call 1-888-996-2729
© 2017 Escalade S por t s
All Rights Reserved
2 pcs - #22 M6 x 1 mm Thick Washer
Assemble
Outside
Please study each diagram closely and read all assembly notes to insure correct assembly

Related product manuals