EasyManua.ls Logo

Troy-Bilt ProLine - Page 38

Troy-Bilt ProLine
40 pages
Print Icon
To Next Page IconTo Next Page
To Next Page IconTo Next Page
To Previous Page IconTo Previous Page
To Previous Page IconTo Previous Page
Loading...
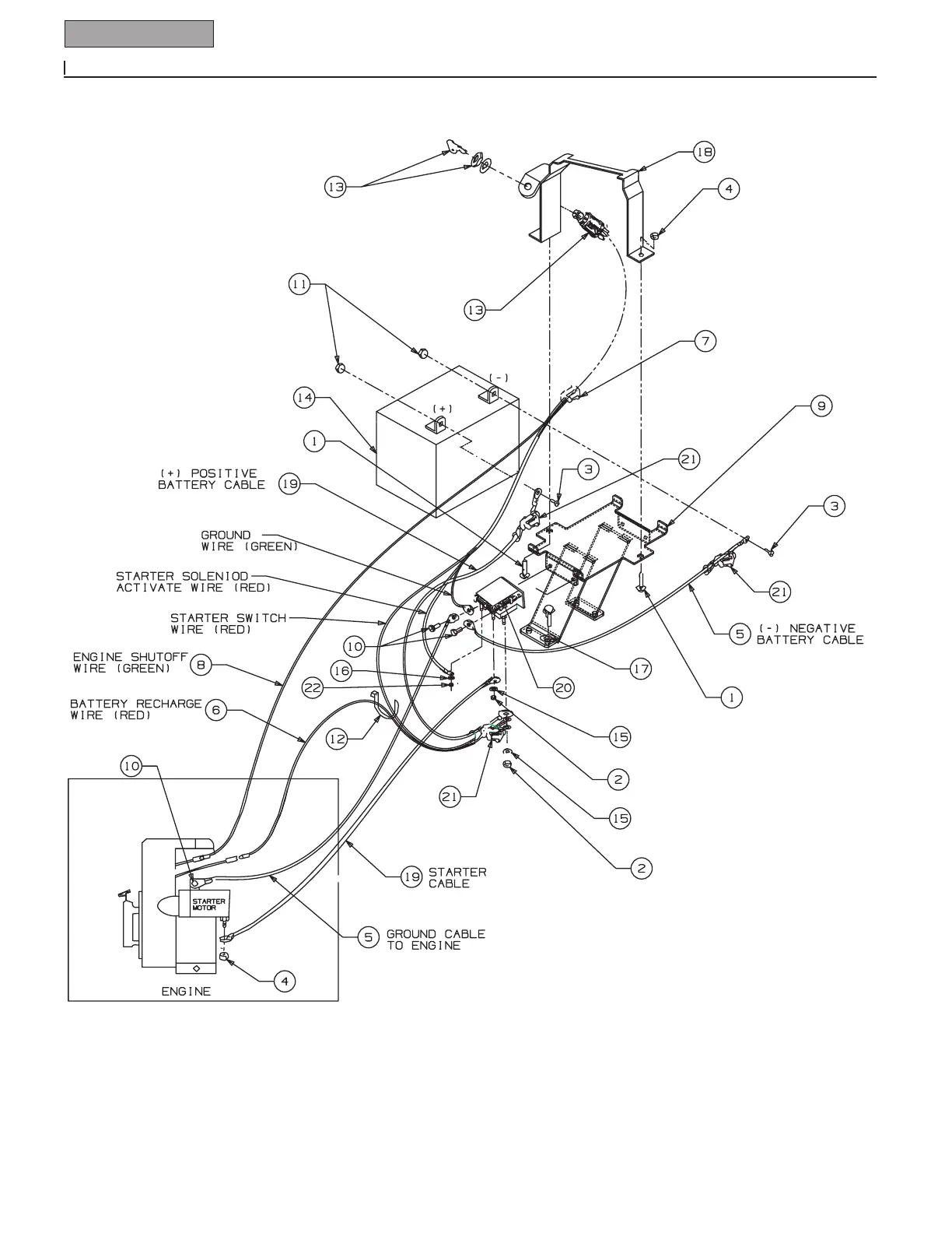
38 Parts List
Model E666M

Related product manuals