EasyManua.ls Logo

TTI TCB-880 - Page 21

TTI TCB-880
40 pages
Print Icon
To Next Page IconTo Next Page
To Next Page IconTo Next Page
To Previous Page IconTo Previous Page
To Previous Page IconTo Previous Page
Loading...
4
RX Signal Meter Adj.
Channel & Frequency :
19CH, 27.185MHz
MIC : Receive
Function : FM Mode
CB/ANL Off/DX
SSG : 27.185MHz, 1KHz,
100uV, 1.5KHz Dev.
Volume : Full clockwise
Squelch : Full clockwise
clockwise
RF Gain : Full clockwise
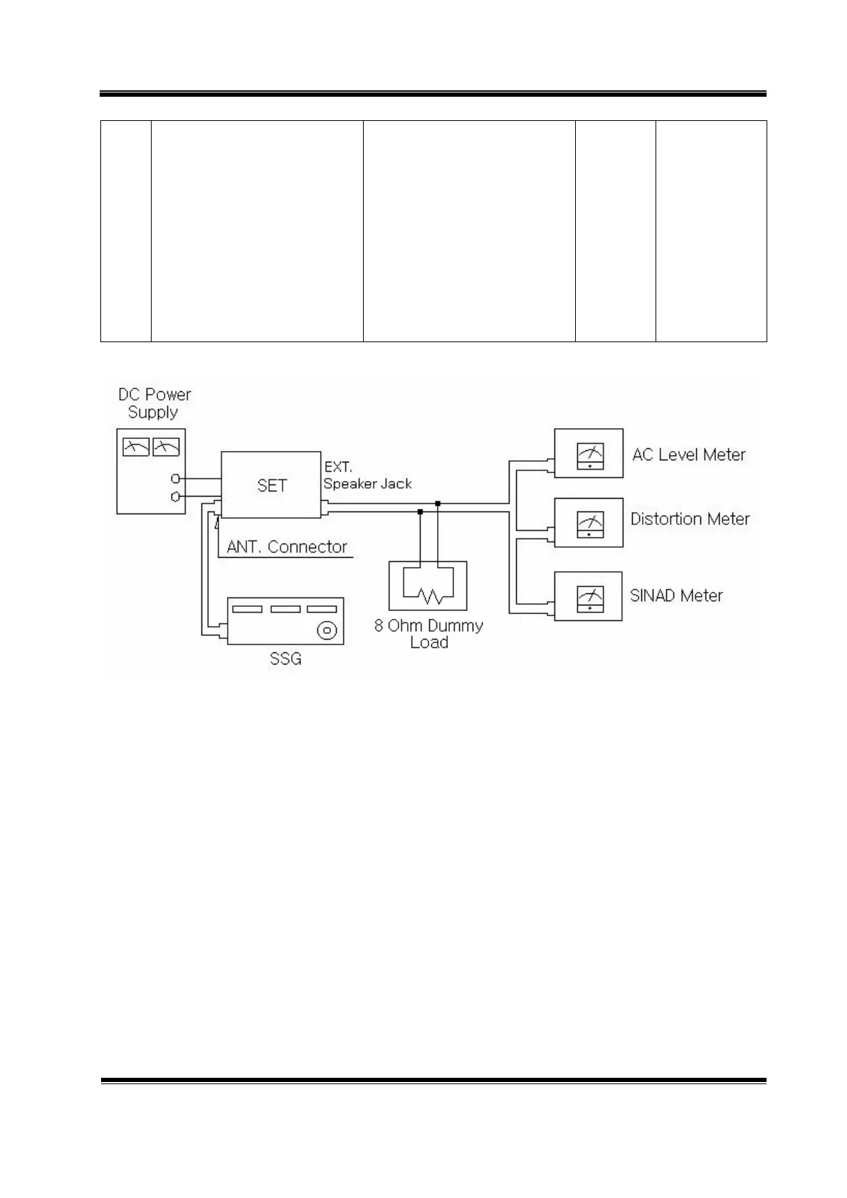
Connect RF Signal Generator
to EXT-ANT Connector.
Connect AC Level Meter and
Distortion Meter and SINAD
Meter across EXT SPK jack
with 8 ohm Dummy
Load(Figure 4)
RV572 Adjust for S-9
on the signal
meter.
Figure 4

Related product manuals