EasyManua.ls Logo

Tunze 7095 - Platzwahl

Tunze 7095
72 pages
Print Icon
To Next Page IconTo Next Page
To Next Page IconTo Next Page
To Previous Page IconTo Previous Page
To Previous Page IconTo Previous Page
Loading...
6
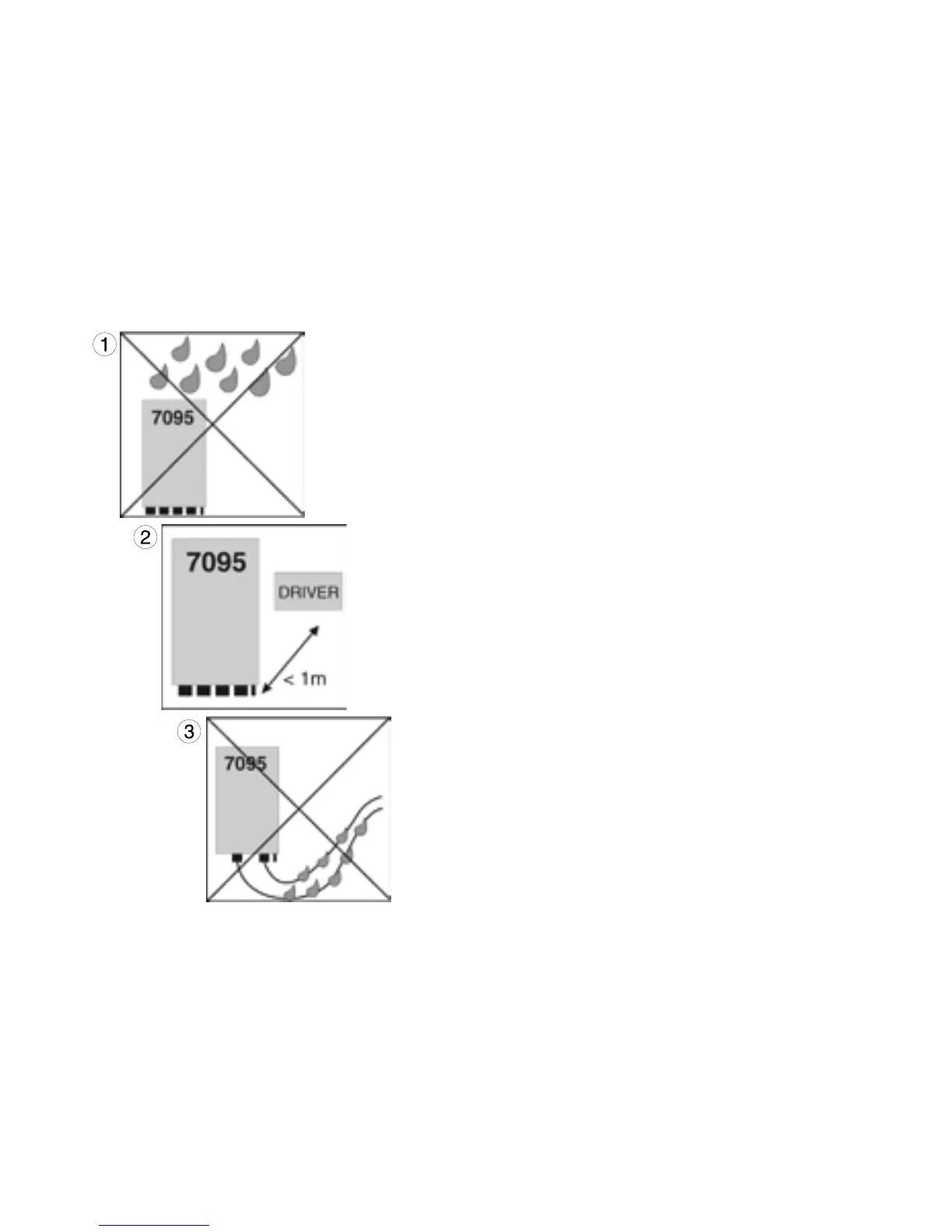
Platzwahl
Der Multicontroller 7095 enthält alle Teile für zwei
verschiedene Wandmontagen.
(1) Geeignete Wand muss trocken und vor
Spritzwasser und Feuchtigkeit geschützt sein. Auf
keinem Fall über dem Aquarium befestigen!
(2) Kabellänge der Geräte beachten, denn
Verbindungskabel können nicht verlängert werden.
Weitere TUNZE® Controller können kompakt neben
dem Multicontroller plaziert werden.
(3) Kabelanschlüsse so verlegen, dass kein Wasser
entlang laufen kann und in den Multicontroller
gelangt!
Angeschlossene Fotozelle im Lichtkegel der
Aquarienbeleuchtung plazieren (siehe Kapitel:
„night mode“).

Related product manuals