EasyManua.ls Logo

Turtle Beach Ear Force X41 - Page 3

Turtle Beach Ear Force X41
16 pages
Print Icon
To Next Page IconTo Next Page
To Next Page IconTo Next Page
To Previous Page IconTo Previous Page
To Previous Page IconTo Previous Page
Loading...
Page 3
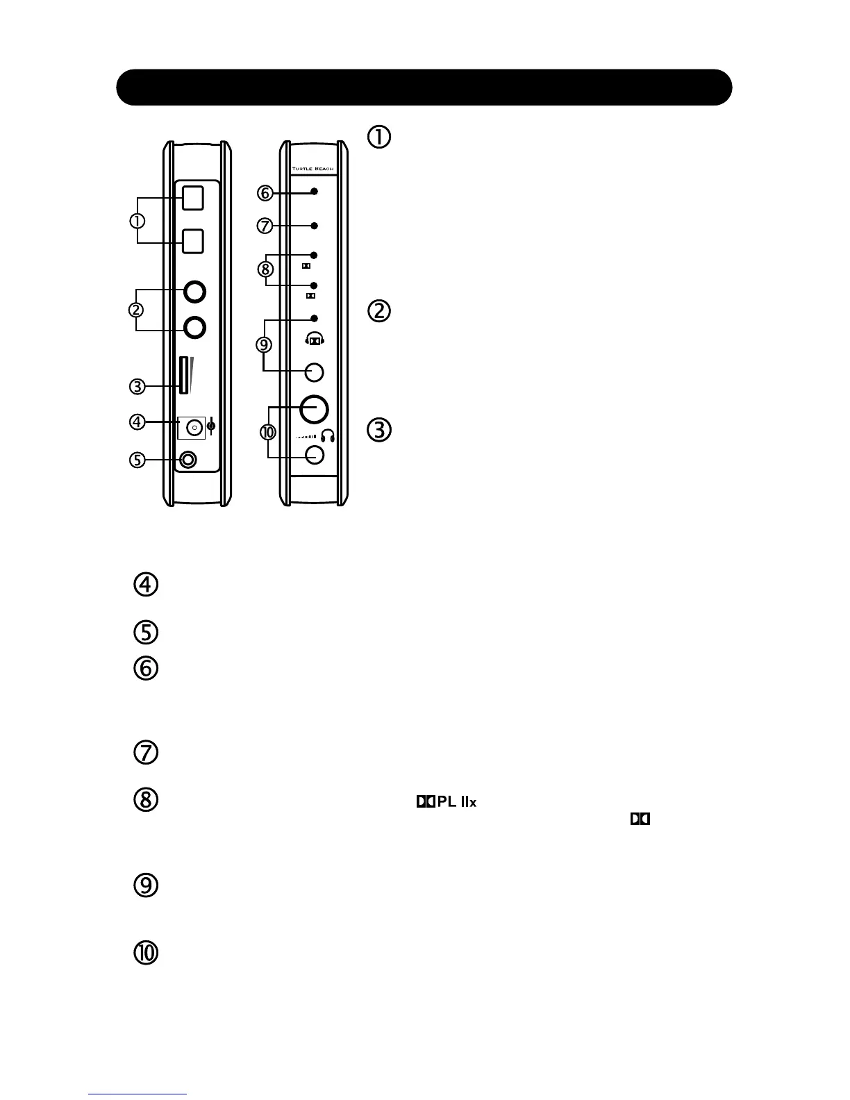
Digital Input and Output: Connect the digital
input (top) to the XBOX 360 digital output using
the included digital optical cable. The digital
input (top) is passed through to the digital
output (bottom) so you can connect the X41
transmitter and your home theater system to
hear the XBOX on the headset and speakers at
the same time. When the XBOX digital signal is
active, the analog inputs (2) are disabled.
Line In (stereo analog inputs): Use these
inputs to connect analog audio sources, such
as a TV, MP3 Player, etc. If the Bypass (9) is
turned off, the analog stereo signal will be
processed by the Dolby Pro Logic IIx decoder,
producing an expanded stereo effect.
Line In Volume: Sets the sensitivity of the
analog inputs to accept a wide range of input
levels. This control has no effect on the digital
input signal level. Typically, this should be set
to maximum and the headset volume used to
adjust the listening level. If the sound distorts,
turn down the Line In volume (3) to prevent
overloading the analog inputs.
X41 Transmitter
Power Socket: Insert the included X41 power cable into this socket. Insert the other
side of the cable into a free USB port on the XBOX console or nearby PC or laptop.
Power Switch: Push to turn on the transmitter power.
Power/Link Indicator LED: When the transmitter is powered on and communicating
with the headset, this LED will be on solid. If this LED is slowly pulsing, it means
the transmitter can’t communicate with the headset. This could happen when the
headset is turned off or out of range.
Digital Input Indicator LED: This LED turns on when a digital input signal is
detected. When this LED is on, the analog inputs are turned off.
Dolby Processing Indicator LEDs: The LED will light whenever the digital or
analog input is being processed by the Dolby Pro Logic IIx decoder. The LED
will light whenever the digital input signal is being processed by the Dolby Digital
surround sound decoder. Both LEDs will turn off when the Bypass is ON.
Bypass Button and Indicator LED: Pressing this button turns off the Dolby
processing, allowing you to hear the unmodied input signal in stereo. The LED
will turn on when Bypass is active and Dolby Processing is disabled.
Wired Headphone Volume Control and Output Jack: Insert a pair of optional wired
headphones into this jack to hear the same signal as the wireless headset. This
may be used as a second set of headphones so two people can hear the game. The
volume control does not affect the wireless headset.
LINE IN
DC 5V
POWER
VOLUME
DIGITAL
OUT
L
IN
R
LINE IN
+
-
BYPASS
DIGITAL
INPUT
PL II
D
REAR VIEW FRONT VIEW
D

Related product manuals