EasyManua.ls Logo

Tyco SYSTEM 800 - Page 14

Tyco SYSTEM 800
14 pages
Print Icon
To Previous Page IconTo Previous Page
To Previous Page IconTo Previous Page
Loading...
I.S. SYSTEM 800
17A-13-I
11/03
PAGE 14 of 14
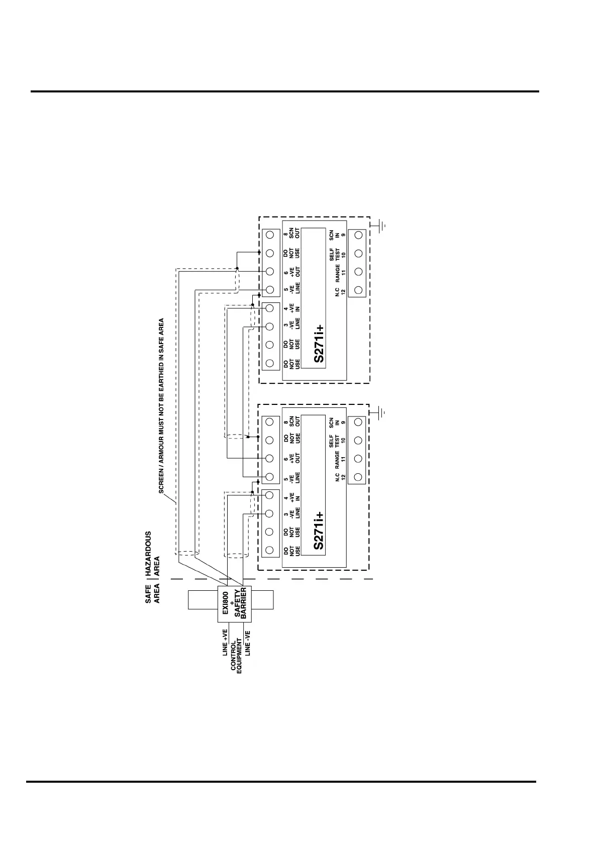
Fig. 6 S27li+ Wiring Diagram for Hazardous Areas
www.acornfiresecurity.com
www.acornfiresecurity.com

Related product manuals