EasyManua.ls Logo

U.S. Solid USS-FX - XI. Removing Amplitude

U.S. Solid USS-FX
16 pages
Print Icon
To Next Page IconTo Next Page
To Next Page IconTo Next Page
To Previous Page IconTo Previous Page
To Previous Page IconTo Previous Page
Loading...
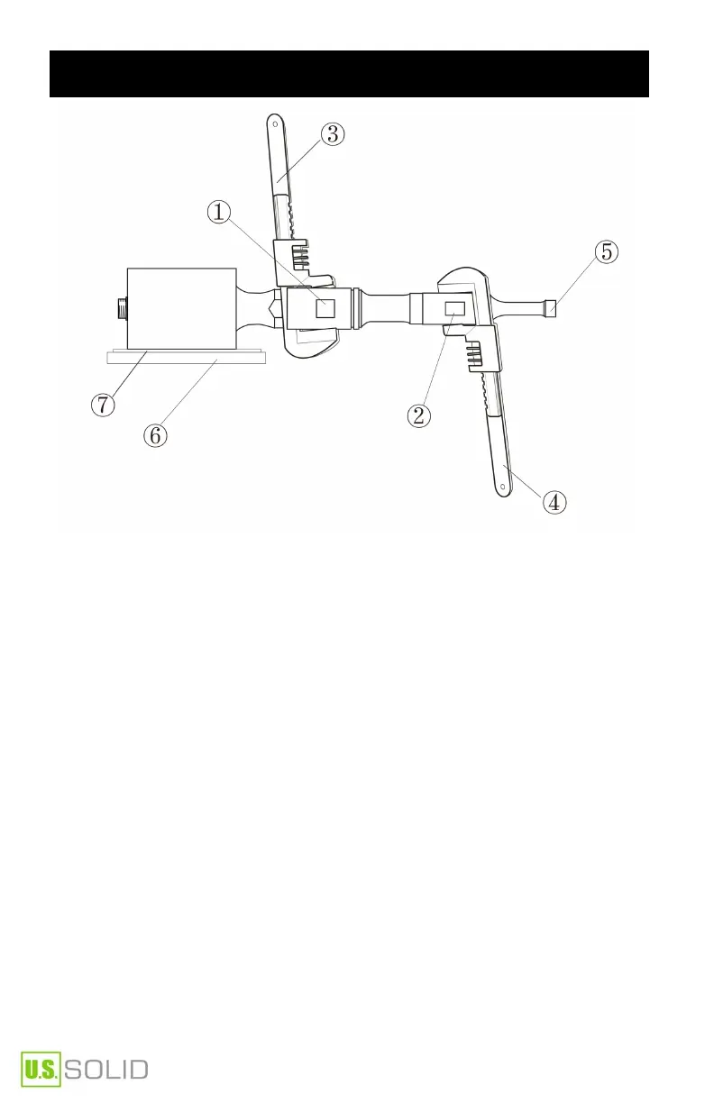
XI. Removing Amplitude
2. Buckle 2
1. Buckle 1
5. Amplitude
3. Wrench 1
6. Workbench
4. Wrench 2
7. Cushion
Place energy converter on the bench covered by soft materials (e.g. towels). Put
the small wrench into the wrench hole on the horn and the big wrench into the
wrench hole on the energy converter. The big wrench should be placed towards
the left and the small wrench towards the right.
Facing the horn with the big wrench in your left hand and the small wrench in
your right hand, loosen by turning downwards with two hands at the same
time. When changing the horn, if the M10 screw is attached to the horn,
manually unscrew the screw from the lever and screw the screw 1/2 way into
the energy converter.
Then screw on the required horn. If the screw cannot be manually screwed out
from the horn, knock the screw lightly on wooden materials so that the screw
can be screwed out manually.