EasyManua.ls Logo

Ulvac GLD-137CC - 2.2 Dimensional Drawing

Ulvac GLD-137CC
54 pages
Print Icon
To Next Page IconTo Next Page
To Next Page IconTo Next Page
To Previous Page IconTo Previous Page
To Previous Page IconTo Previous Page
Loading...
-4-
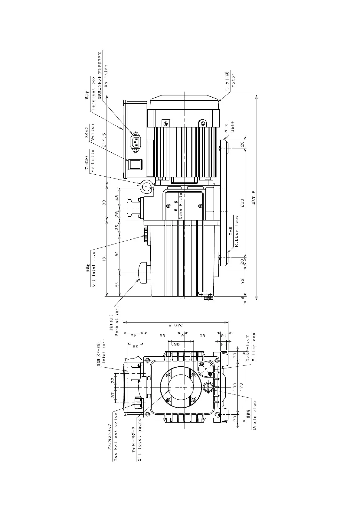
2.2 Dimensional drawing
Fig. 1 Dimensional drawing of GLD-137CC oil sealed rotary vacuum pump

Table of Contents

Related product manuals