EasyManua.ls Logo

Universal Space DUO DRIVE - Level Adjustment and Transport

Universal Space DUO DRIVE
41 pages
Print Icon
To Next Page IconTo Next Page
To Next Page IconTo Next Page
To Previous Page IconTo Previous Page
To Previous Page IconTo Previous Page
Loading...
 DUO DRIVE V1.02
9
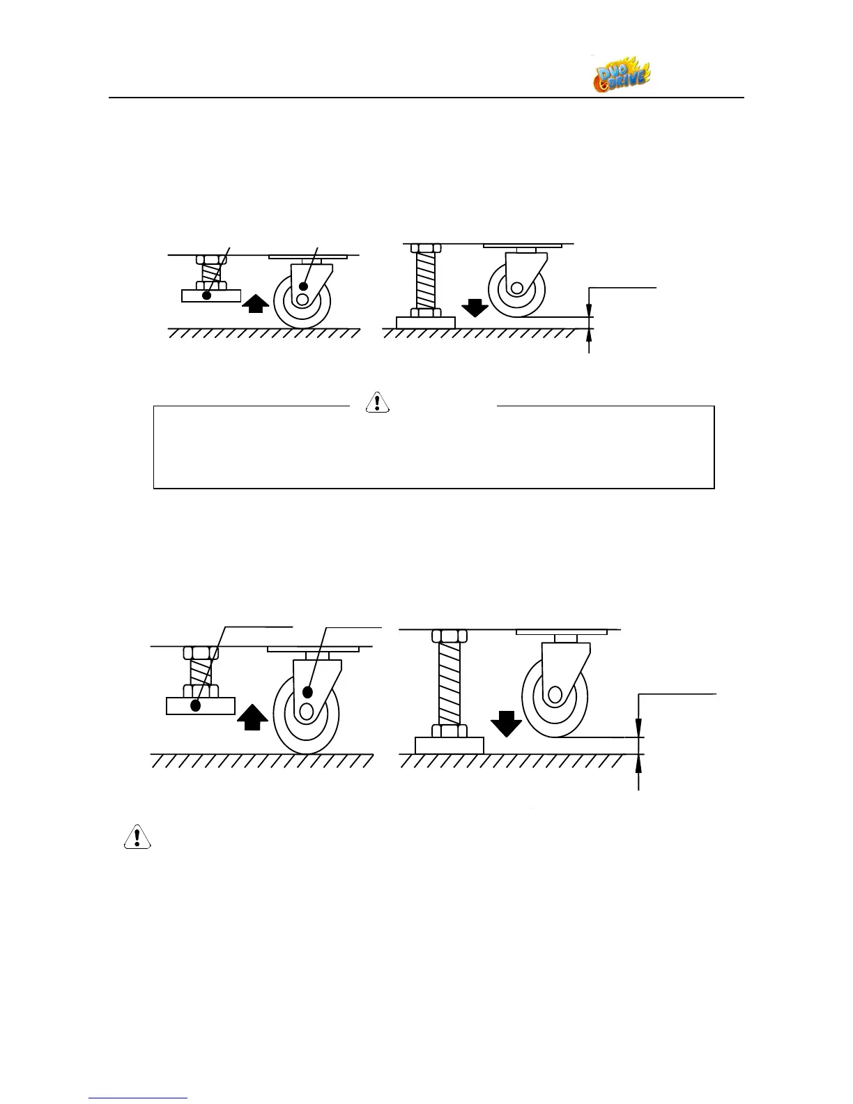
4.3 Level Adjustment
Install this machine on a flat surface. Adjust levers to lift casters off the ground to level the
game. If the game is installed on an unsuitable floor, it could cause game malfunction.
To secure the game, adjust the Leveler down until it touches the floor, lifting the casters off
the ground by 5mm. Repeat the same for all levelers.
4.4 Transporting the Machine
If you need to move the game, adjust the levelers back to anup position so the casters
touch the ground.
NOTICE
Be careful not to damage the machine during transport.
The machine should be handled with care when bringing it down from a higher level.
Always unplug the game before moving.
Keep the machine in upright position during transport.
For longer distance transport, package the game properly to prevent damages.
Leveler Caster
Move
About 5 mm
Fix
Make sure the machine is level with the ground and all the
adjustable legs should stick to the floor closely.
NOTICE
Move Fix
Leveler
Castor
About 5mm

Related product manuals