EasyManua.ls Logo

Universal Space Extreme Hoops - Motion Assembly

Universal Space Extreme Hoops
45 pages
Print Icon
To Next Page IconTo Next Page
To Next Page IconTo Next Page
To Previous Page IconTo Previous Page
To Previous Page IconTo Previous Page
Loading...
Extreme Hoops operation manual
34
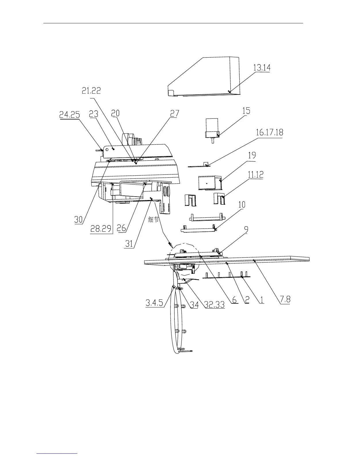
11.3 Motion Assembly

Related product manuals