EasyManua.ls Logo

USFilter DEPOLOX 3 PLUS - Page 102

Default Icon
112 pages
Print Icon
To Next Page IconTo Next Page
To Next Page IconTo Next Page
To Previous Page IconTo Previous Page
To Previous Page IconTo Previous Page
Loading...
IM 50.560CA UA (B/4-03)
DEPOLOX
®
3 PLUS RESIDUAL ANALYZER
92
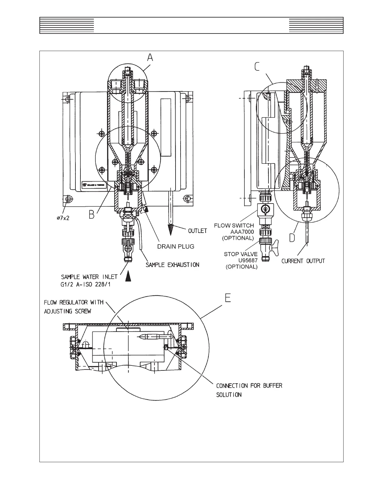
BARE ELECTRODE RESIDUAL ANALYZER - PARTS
50.560.000.020A
ISSUE 2 1-03
NOTE: FOR PARTS LIST, SEE DWG. 50.560.000.020E.