EasyManua.ls Logo

Utilitech 5632649 - Page 4

Utilitech 5632649
26 pages
Print Icon
To Next Page IconTo Next Page
To Next Page IconTo Next Page
To Previous Page IconTo Previous Page
To Previous Page IconTo Previous Page
Loading...
4
PREPARATION (Continued)
Installation may vary depending on how the previous bath fan was installed. Supplies necessary for the installation of your
bath fan are not all included; however, most are available at your local home improvement or hardware store.
DIMENSIONS
Ceiling
Opening (L)
Ceiling
Opening (W)
Ceiling
Opening (H)
Housing
Dimension (L)
Housing
Dimension (W)
Housing
Dimension (H)
7-3/4 in. 7-1/2 in. 6 in. 7-1/2 in. 7-1/4 in. 5-3/4 in.
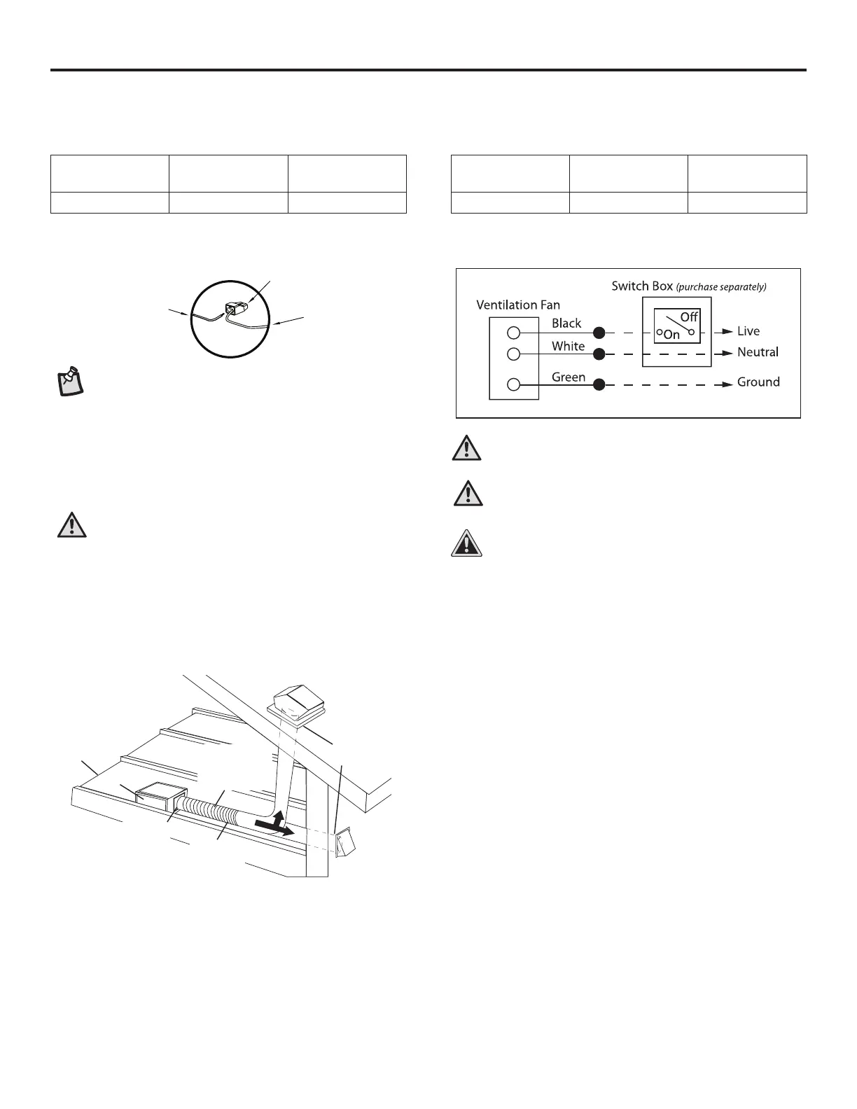
WIRING
NOTE: The connector is reusable on solid wires of the
same wire gauge or smaller. Do not reuse the connector
on stranded wires.
• Strip wires 3/8 in. - 1/2 in.
Grip the wire rmly and push the stripped end of the wire into the
open port of the connector. Use only one conductor per port.
Verify the stripped end of the wires is fully inserted to the back
of the connector.
WARNING: Wiring must comply with all applicable
electrical codes. Turn off power before removing or
installing connectors.
WARNING:
COPPER TO COPPER ONLY. Do not use
aluminum wire.
CAUTION: Wiring maximum temperature rating 221˚F
(105˚C). 600V maximum for building wiring and 1,000V
maximum for signs and light xtures. The acceptable wire
range is 12-18 AWG Sol. Cu.
CAUTION: Accessory part (quick connector) should
meet installation instructions to the right.
Quick
connector
Product
wires
House
wires
It is recommended to apply proper insulation around the fan to
minimize heat loss and gain. This fan is designed to be installed
using a 4-in. duct.
Using a rigid duct is recommended. Using a exible duct, cut to
size and/or fully extended is also acceptable. Ducting has a
strong effect on the air ow, noise and energy use of the fan.
Use the shortest, straightest duct routing possible for best
performance. Avoid installing the fan with smaller ducts than
recommended. Insulation around the ducts can reduce energy
loss and inhibit mold growth. Fans installed with existing ducts
may not achieve their rated air ow.
Fan housing
Properly insulate
around fan to
minimize building
heat loss and gain
Seal any gap
around fan
housing
2-3 foot straight
run before
elbow
Short piece of
exible duct helps
alignment and
absorbs sound
Roof cap
(with built-in
damper)
Caulk
termination
to duct
Wall cap
(with
built-in
damper)
TYPICAL INSTALLATION

Related product manuals