EasyManua.ls Logo

UVP UVX - Figure 11: Schematic of UVX Series Sensor; Figure 12: Measurement of Irradiance

UVP UVX
32 pages
Print Icon
To Next Page IconTo Next Page
To Next Page IconTo Next Page
To Previous Page IconTo Previous Page
To Previous Page IconTo Previous Page
Loading...
UVX Radiometer 21
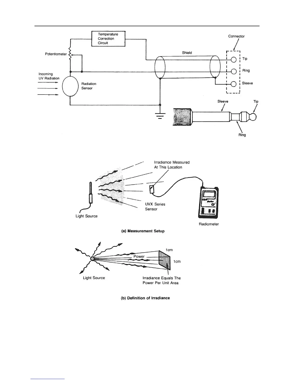
Figure 11: Schematic of UVX Series Sensor
Figure 12: Measurement of Irradiance

Table of Contents