EasyManua.ls Logo

V2C TRYDAN - General Characteristics; Product Number Composition

V2C TRYDAN
15 pages
Print Icon
To Next Page IconTo Next Page
To Next Page IconTo Next Page
To Previous Page IconTo Previous Page
To Previous Page IconTo Previous Page
Loading...
e-Charger: Trydan
Color: Black
Material: Polycarbonate MVR
Weight: 2 kg (without hose) / 2,5 kg (with hose and protections)
Hose length: 5 m / 10 m
Hose type: Lisa / De muelle
Operating temperature: -15º a 45º
Storage temperature: -40º a 70º
Display*: 7”
Illumination according to charge state.
*Depending on model.
Product number composition
3. GENERAL CHARACTERISTICS
3
Model TRY
Intensity 32
Grid type Monophase 1
Three-phase 3
Hose type Smooth 5m L5
10m L10
Spring M
Socket S
Protections P
Schuko SC
Accessories:
Leak detector V2C-F
Remote control V2C-R
Cable support V2C-SOP
Stand V2C-PED
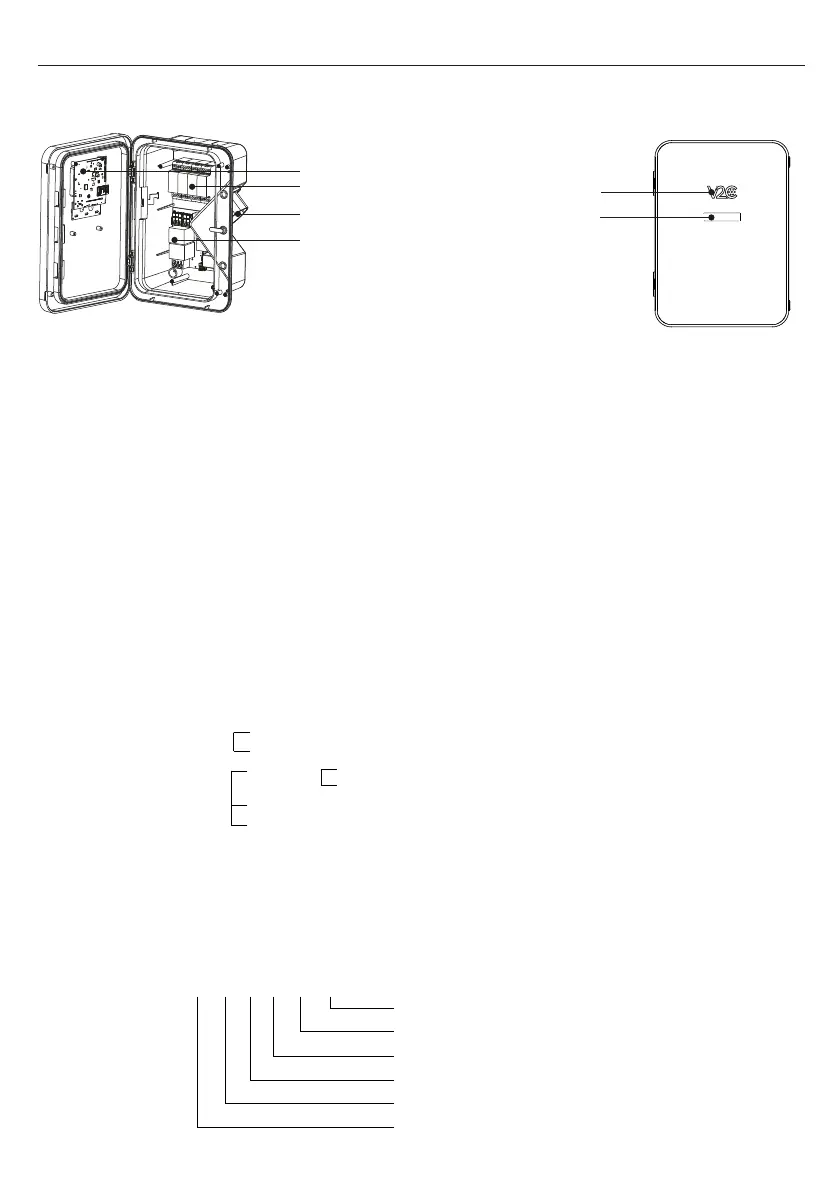
Control board
Protections
Hose support
Power plate
LED lighting
according to
charge status
Display
Schuko
Leak detector
5m smooth hose
Single-phase grid type
Maximum recharge current 32A
Trydan e-Charger
TRY32-1-L5-P-SC

Other manuals for V2C TRYDAN