EasyManua.ls Logo

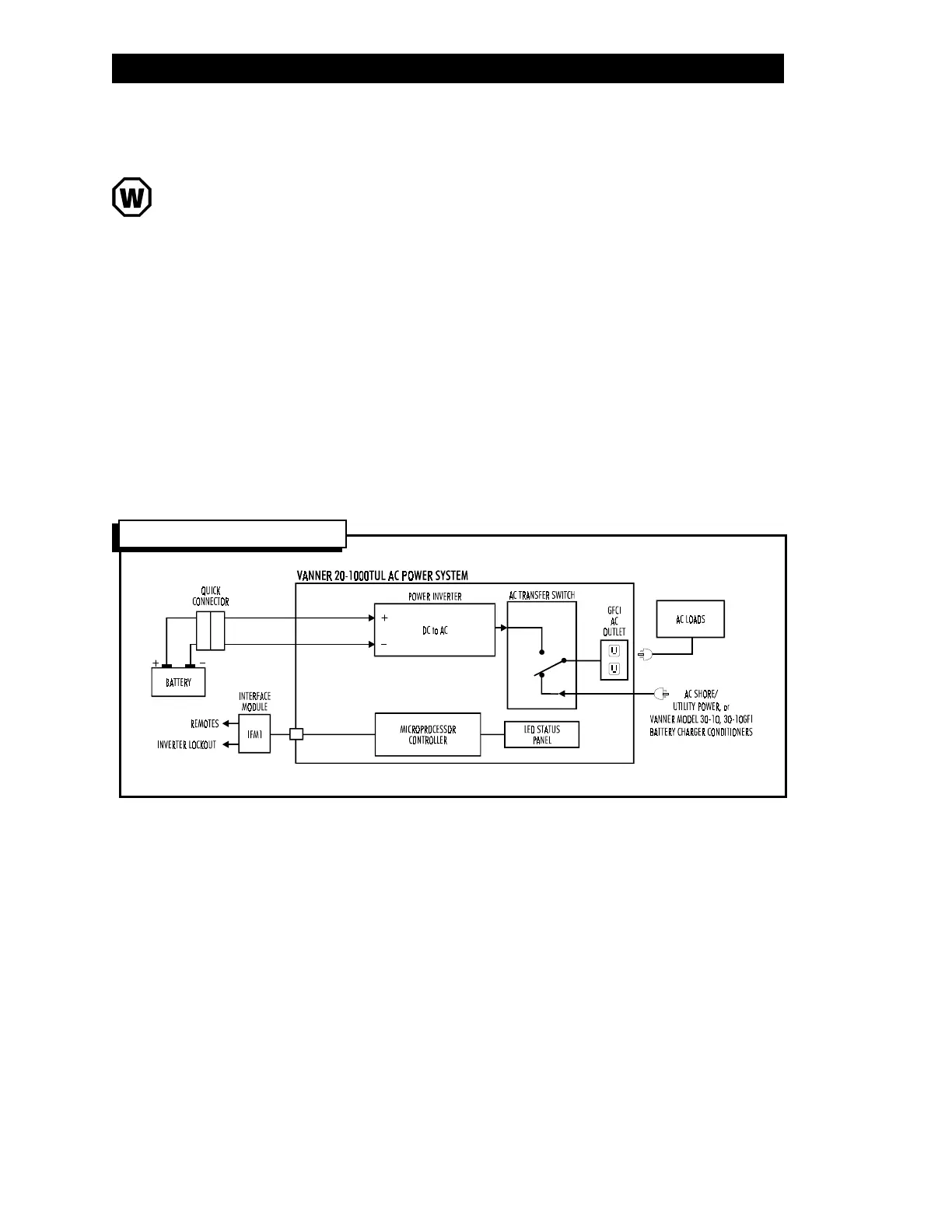
Vanner 20-1000TUL - Figure 1-System Diagram

Vanner 20-1000TUL
16 pages
Print Icon
To Next Page IconTo Next Page
To Next Page IconTo Next Page
To Previous Page IconTo Previous Page
To Previous Page IconTo Previous Page
Loading...
Vanner Power Group
20-1000TUL INVERTER—OWNER'S MANUAL
Functionality
Inverter
The 20-1000TUL converts battery power to 1050 Watts of 120 VAC modified sine
wave power to operate vital emergency vehicle equipment. The unit is easily connected
to the positive and negative posts of a battery system with appropriate fusing, and
when turned ON, produces 120 VAC True RMS power.
The inverter also has an energy-saving feature called Load Demand. With this feature,
the inverter output is pulsed, significantly reducing the current draw from the battery
until a demand is made on its output. Continuous output of 120 VAC resumes when a
load greater than 5 Watts is applied. The load demand feature can be disabled with the
Setup Switch on the front panel.
A built-in transfer relay senses AC input to the emergency vehicle (shore/utility power)
and connects the AC input directly to the GFCI receptacle. At that time, all equip-
ment which was operating on the inverter is now powered by the AC shore line.
WW
WW
W
ARNINGARNING
ARNINGARNING
ARNING
Battery input
cables must be
connected to
the battery
with proper
polarity to avoid
damaging the
inverter.
FIGURE 1—SYSTEM DIAGRAM
— 2 —

Related product manuals