EasyManua.ls Logo

Ventrac MK960 - Hydraulic Flip Up Kit

Ventrac MK960
53 pages
Print Icon
To Next Page IconTo Next Page
To Next Page IconTo Next Page
To Previous Page IconTo Previous Page
To Previous Page IconTo Previous Page
Loading...
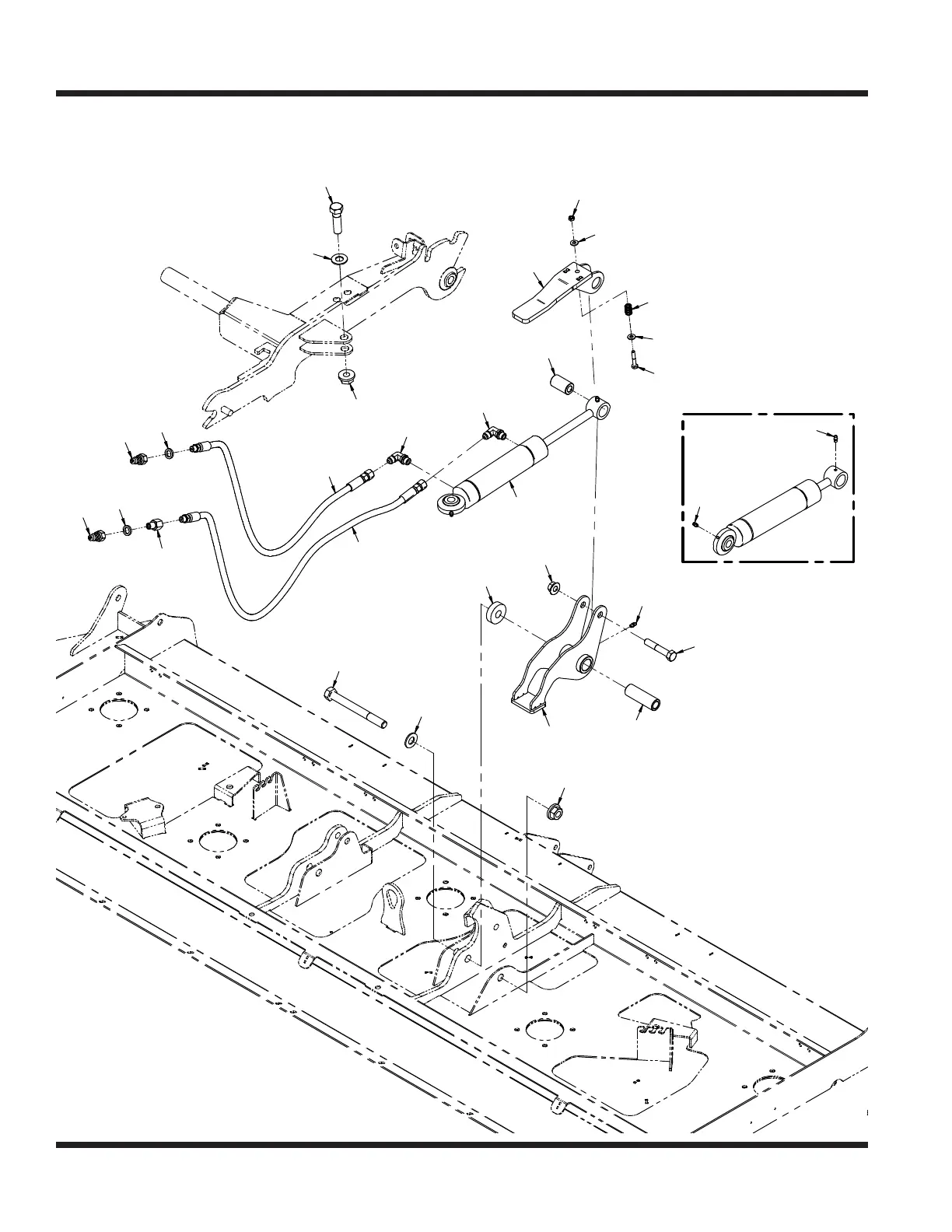
PARTS
Illustrated Parts - 50
Use only original Ventrac
replacement parts.
17
18
23
24
19
19
22
15
15
16
1
13
9
8
20
14
2
12
4
5
5
3
3
6
7
7
11
10
21
23.0168
40
40
ILLUSTRATED DRAWING
70.8203 Hydraulic Flip Up Kit

Table of Contents

Related product manuals