EasyManua.ls Logo

Vertical Express HD98 - Door Adjustment Diagrams

Vertical Express HD98
46 pages
Print Icon
To Next Page IconTo Next Page
To Next Page IconTo Next Page
To Previous Page IconTo Previous Page
To Previous Page IconTo Previous Page
Loading...
HD-98 Door Operator with OST Door Setup
Printed in USA November, 2011
21
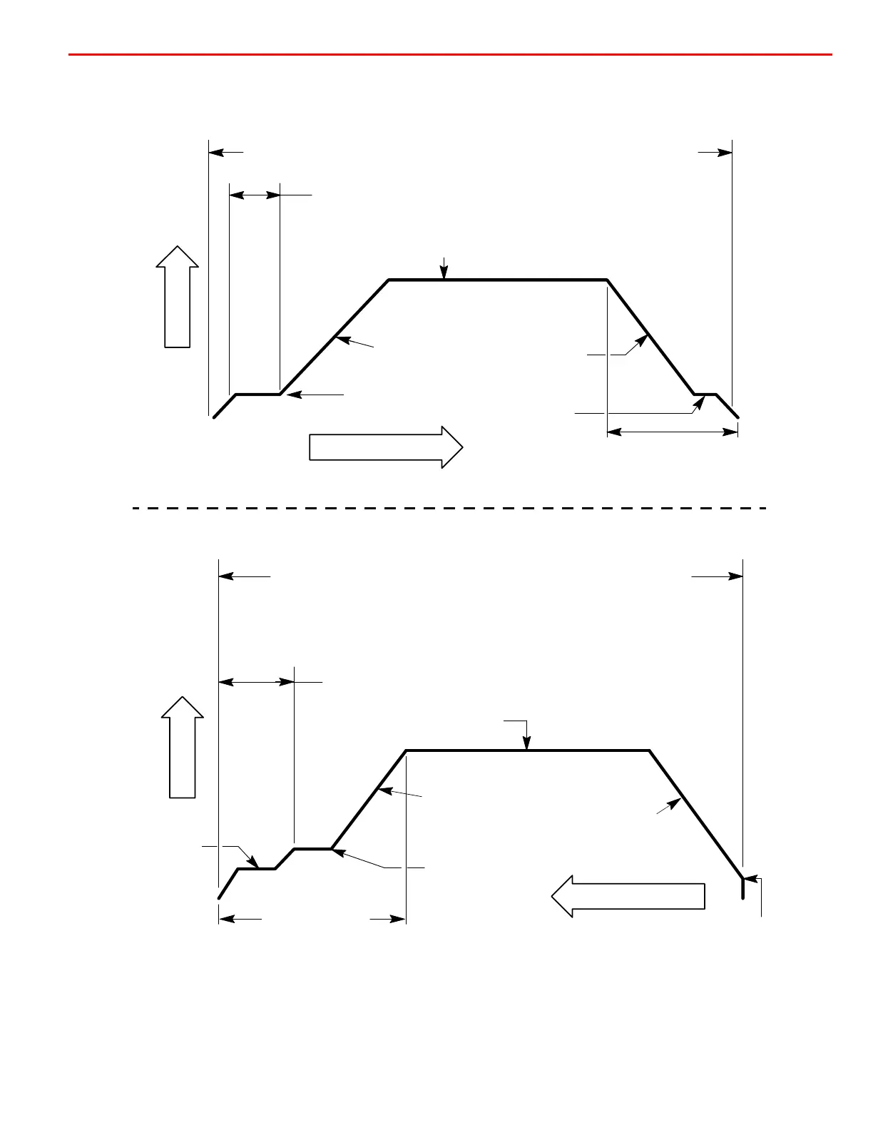
Door Adjustment Diagrams
Figure 9 - Door Opening and Door Closing Adjustments
E06 (Manual
Open Speed)
Range = 1-70
Doors Open (DOL)
E10 (Open Backlash Time)
Range = 1-100
E09 (Open Backlash Speed)
Range = 0-70
E07 (Open Accel Rate)
Range = 1-10
E05 (Open
Sldn Decel Rate)
Range = 1-33
E04 (Open High Speed)
Range = 1-127
E11 (Smooth Turnaround)
Range = 1-100
Doors Closed (DCL)
Speed
Doors Opening
E08 (Open Slowdown Distance)
Range = 0-2000
E19 (High Speed Clamp)
Range = 0-100
(increments of 8, avoid setting over 50)
(setting must be at least 8 more than E04)
3
/
4
Manual Closing Speed
Doors Closed (DCL) Doors Open (DOL)
E18 (Close Travel- In Distance)
Range = 0-255
E14 (Manual Closing Speed)
Range = 1-70
E15 (Close Accel Rate)
Range = 1-8
E12 (Close High Speed)
Range = 1-127
E13 (Close Sldn Decel Rate)
Range = 1-33
3
/
4
Manual
Closing Speed
E17 (Closing Reduced Torque on Stall)
Range = 0-1
Doors Closing
Speed
E16 (Close Sldn Distance)
Range = 0-2000
E20 (Closing Door Torque)
Range = 1-255
E21 (Nudging Duty)
Range = 1-60

Related product manuals