EasyManua.ls Logo

Vertiv Liebert RX - Figure 4 Input Electrical Field Connection Location for Units with Main Panelboard Breaker

Vertiv Liebert RX
34 pages
Print Icon
To Next Page IconTo Next Page
To Next Page IconTo Next Page
To Previous Page IconTo Previous Page
To Previous Page IconTo Previous Page
Loading...
Vertiv | Liebert
®
RX
Remote Distribution Cabinet User Manual | 10
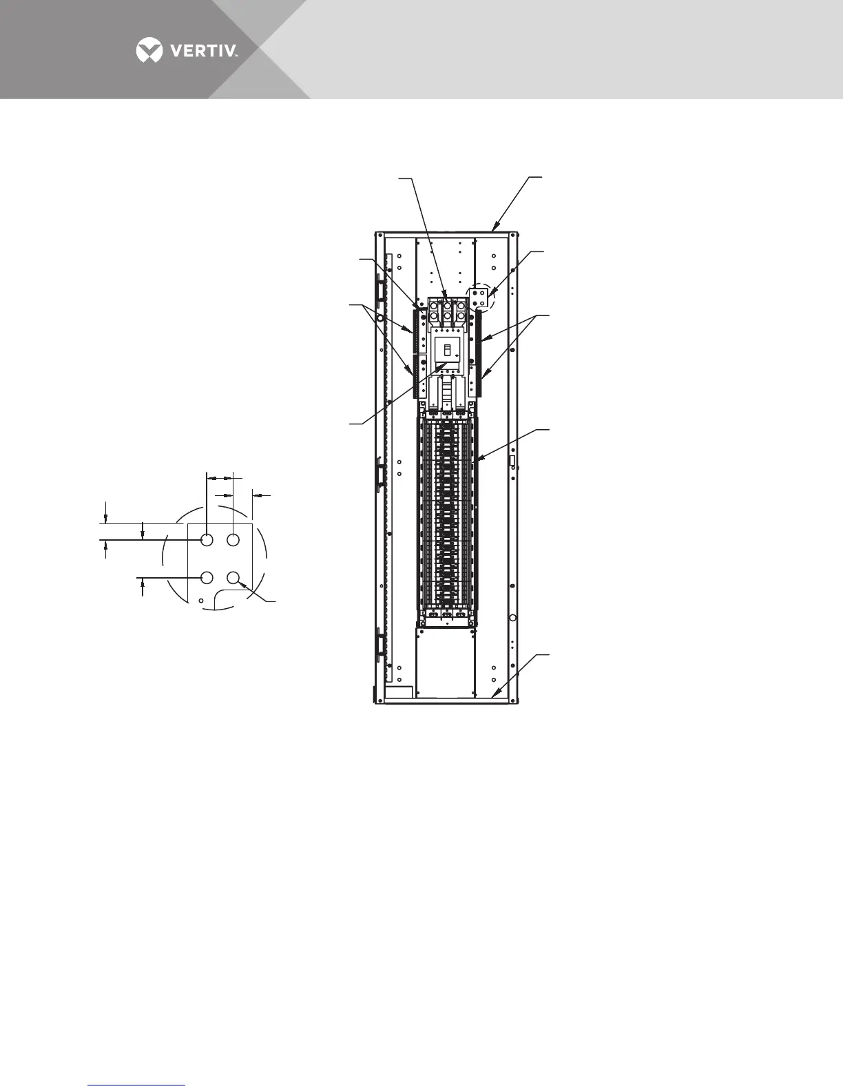
Figure 4 Input electrical field connection location for units with main panelboard breaker
Ground
Busbar
Neutral
Busbar
Input Ground Connection
5/16-18 x 1.5" Stud
Input Neutral Connection
See Detail A
Input Power Connection
Mechanical Lug for
(2) 3/0-500kCMIL
Distribution Cable Conduit
Plate; 56 knockouts, each Ø 0.875"
for 1/2" conduit and 28 knockouts,
each Ø 1.125" for 3/4" Conduit
84-Pole
Distribution
Panelboard
Distribution Cable
Conduit Plate
84 knockouts, each Ø 0.875"
for 1/2" conduit
Main Input
Circuit Breaker
DETAIL A
RX15002
Rev. 2
Ø 0.563
(14.29mm)
4 Places
0.75"
(19.1mm)
1.75"
(44mm)
0.89" (23mm)
1.22" (31mm)

Table of Contents

Related product manuals