EasyManua.ls Logo

Vestil LLW - Page 6

Vestil LLW
21 pages
Print Icon
To Next Page IconTo Next Page
To Next Page IconTo Next Page
To Previous Page IconTo Previous Page
To Previous Page IconTo Previous Page
Loading...
Table of Contents Rev. 10/2/2020 LLW MANUAL
Table of Contents Copyright 2020 Vestil Manufacturing Co. Page 6 of 21
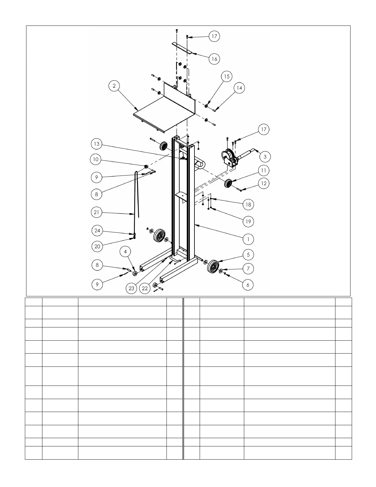
Item
Part no.
Description
Qty.
Item
Part no.
Description
Qty.
1
42-514-008 WELDMENT, FRAME 1
13
37024
NYLON INSERT LOCK NUT,
GRADE 2, ZINC FINISH, 3/8"-16
2
2
42-513-006
WELDMENT, DECK
1
14
21-112-002
PIN. ROLLER
4
3
21-042-
002-001
HAND WINCH, ONE PIECE
STRAIGHT HANDLE GRIP
1
15
42-027-005 ROLLER, GUIDE ROLLER 8
4
21-527-002
SUB-ASSEMBLY, ROLLER W/
BUSHING
2
16
21-017-087 STIFFENER, BAR 1
5
16-132-058 WHEEL, POLY ON POLY 2
17
11107
HEX BOLT, GRADE A, ZINC
FINISH, 3/8"-16 x 1-1/4"
5
6
68015
EXTERNAL RETAINING
RING,PHOSPHATE, 3/4"
2
18
33622
SPLIT LOCK WASHER, CARBON
STEEL, MEDIUM ZINC FINISH,
3/8"
5
7
33018
USS FLAT WASHER, Z
PLATED, Ø 3/4"
4
19
36106
HEX NUT, GRADE A, ZINC
PLATED, 3/8-16
5
8
21-112-003
PIN, Ø1/2 X 1-15/16 LG
RETAINING CLEVIS
3
20
21-145-013
SPECIALTY HARDWARE,
THIMBLE
1
9
65107
COTTER PIN, ZINC FINISH,
Ø5/32" X 2"
3
21
21-145-014
SPECIALTY HARDWARE, Ø3/16"
AIR CRAFT CABLE
1
10
21-527-001
SUB-ASSEMBLY, PULLEY
W/BUSHING
1
22
13-025-004-002 HANDLE, WITH HOLES 1
11
16-132-009
PP-4/1.25-W
2
23
31802
SCREW, SELF-TAPPING SCREW
2
12
11113
HEX BOLT, GRADE A, PLAIN
FINISH, 3/8"-16 X 2-1/2"
2
24
99-145-067
COMPRESSION SLEEVE Ø3/16" X
1" LG
1
Exploded View & Bill of Materials
A
LLW-2020-FW
42-006-004

Related product manuals