EasyManua.ls Logo

ViewSonic PRO7827HD - Selecting the Aspect Ratio

ViewSonic PRO7827HD
87 pages
Print Icon
To Next Page IconTo Next Page
To Next Page IconTo Next Page
To Previous Page IconTo Previous Page
To Previous Page IconTo Previous Page
Loading...
30
4. To reduce size of the picture, press Enter to switch back to the zoom in/out
functionality, and press repeatedly until it is restored to the original size. You can
also press Auto Sync on the remote control to restore the picture to its original size.
Using the OSD menu
1. Open the OSD menu and go to the
DISPLAY > Zoom menu.
2. Press Enter. The Zoom bar is displayed.
3. Repeat steps 2-4 in the section of Using the remote control above.
The picture can only be navigated after it is magnified. You can further magnify the picture
while searching for details.
Selecting the aspect ratio
The 'aspect ratio' is the ratio of the image width to the image height. Most analog TV and
computers are in 4:3 ratio, and digital TV and DVDs are usually in 16:9 ratio.
With the advent of digital signal processing, digital display devices like this projector can
dynamically stretch and scale the image output to a different aspect than that of the image
input signal.
To change the projected image ratio (no matter what aspect the source is):
1. Open the OSD menu and go to the
DISPLAY > Aspect Ratio menu.
2. Press / to select an aspect ratio to suit the format of the video signal and your
display requirements.
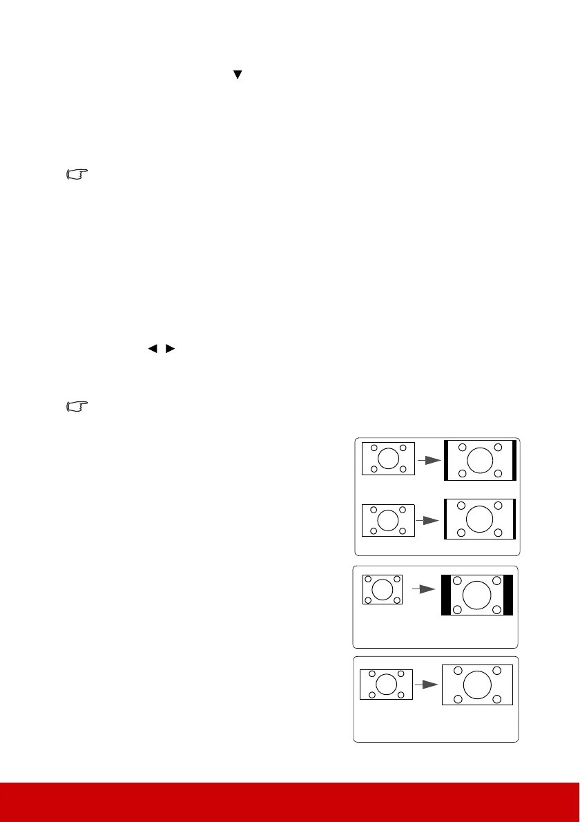
About the aspect ratio
In the pictures below, the black portions are inactive areas and the white portions are active
areas. OSD menus can be displayed on those unused black areas.
1. Auto: Scales an image proportionally to fit the
projector's native resolution in its horizontal
width. This is suitable for the incoming image
which is neither in 4:3 nor 16:9 and you want to
make most use of the screen without altering the
image's aspect ratio.
2. 4:3: Scales an image so that it is displayed in the
center of the screen with a 4:3 aspect ratio. This
is most suitable for 4:3 images like computer
monitors, standard definition TV and 4:3 aspect
DVD movies, as it displays them without aspect
alteration.
3. 16:9: Scales an image so that it is displayed in
the center of the screen with a 16:9 aspect ratio.
This is most suitable for images which are
already in a 16:9 aspect, like high definition TV,
as it displays them without aspect alteration.
16:10 picture
15:9 picture
4:3 picture
16:9 picture

Related product manuals