EasyManua.ls Logo

Viking Range VCBB363 - Page 10

Viking Range VCBB363
36 pages
Print Icon
To Next Page IconTo Next Page
To Next Page IconTo Next Page
To Previous Page IconTo Previous Page
To Previous Page IconTo Previous Page
Loading...
10
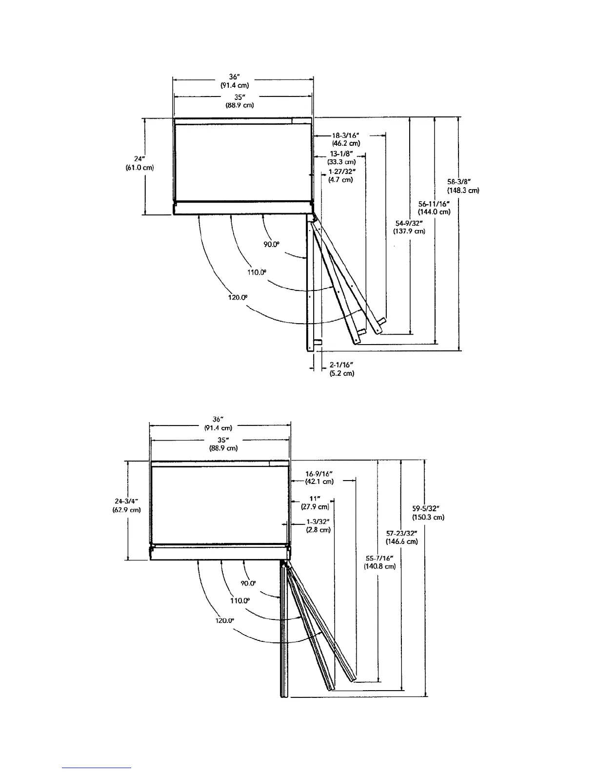
DOOR SWING CONSIDERATIONS
DESIGNER MODEL
FULL OVERLAY MODEL

Related product manuals