EasyManua.ls Logo

Viking MR 4082 - Bateria

Viking MR 4082
Print Icon
To Next Page IconTo Next Page
To Next Page IconTo Next Page
To Previous Page IconTo Previous Page
To Previous Page IconTo Previous Page
Loading...
0478 193 9901 A - PT
436
Desligue o motor. (Ö 11.3)
Accione o travão de estacionamento.
(Ö 8.9)
Retire a chave de ignição e guarde-a
em lugar seguro.
Desmonte a cobertura da coluna da
direcção. (Ö 13.15)
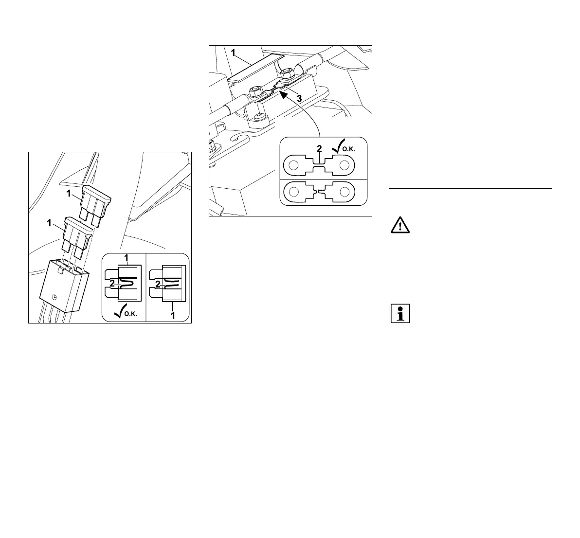
Verificar o fusível
Fusíveis de encaixe:
Retire os fusíveis de encaixe (1). Através
de uma verificação visual, verifique se o
arame que passa no plástico (2) está
danificado (fundido).
Se o arame (2) estiver danificado, será
necessário substituir o fusível.
Fusível principal:
Abra a cobertura (1).
Através de uma verificação visual,
verifique se o arame (2) está danificado
(fundido). Se o arame estiver danificado, o
fusível (3) tem de ser substituído por um
distribuidor oficial.
A VIKING recomenda o distribuidor
oficial VIKING.
Feche a cobertura.
Monte a cobertura da coluna da
direcção. (Ö 13.16)
Substituir fusíveis
Desmonte a cobertura da coluna da
direcção. (Ö 13.15)
Fusíveis de encaixe:
Verifique o fusível de encaixe.
Fusível de 10 Amperes (vermelho)
Fusível de 15 Amperes (azul)
Fusível principal:
150 Amperes
Por motivos de segurança, o fusível
principal apenas pode ser substituído por
um distribuidor oficial.
A VIKING recomenda o distribuidor
oficial VIKING.
Monte a cobertura da coluna da
direcção. (Ö 13.16)
13.18 Bateria
Desligue o motor.(Ö 11.3)
Accione o travão de estacionamento.
(Ö 8.9)
Modelo
Equipamento de
carga
Sistema
eléctrico
MR 4082 10 A 10 A
MR 4082 K 15 A 10 A
Perigo de ferimentos!
Ao separar a bateria, separe
sempre em primeiro lugar o cabo
negativo preto (–) e, em seguida, o
cabo positivo vermelho (+)!
Ao ligar a bateria, ligue sempre em
primeiro lugar o cabo positivo
vermelho (+).
A bateria não necessita de
manutenção e apenas deve ser
substituída em caso de danos ou
desmontada em caso de paragem
mais prolongada (por exemplo,
período de Inverno).
Desmonte a bateria antes da
eliminação do aparelho.
Não deve deitar fora a bateria no
lixo doméstico, mas sim entregá-la
ao distribuidor oficial ou eliminá-la
no local de recolha dos materiais
problemáticos.
Modelo
Equipamento de
carga
Sistema
eléctrico

Table of Contents

Related product manuals