EasyManua.ls Logo

Viking VCSB420 - Servicing the Motorized Air Door; Servicing the Thermistor

Viking VCSB420
63 pages
Print Icon
To Next Page IconTo Next Page
To Next Page IconTo Next Page
To Previous Page IconTo Previous Page
To Previous Page IconTo Previous Page
Loading...
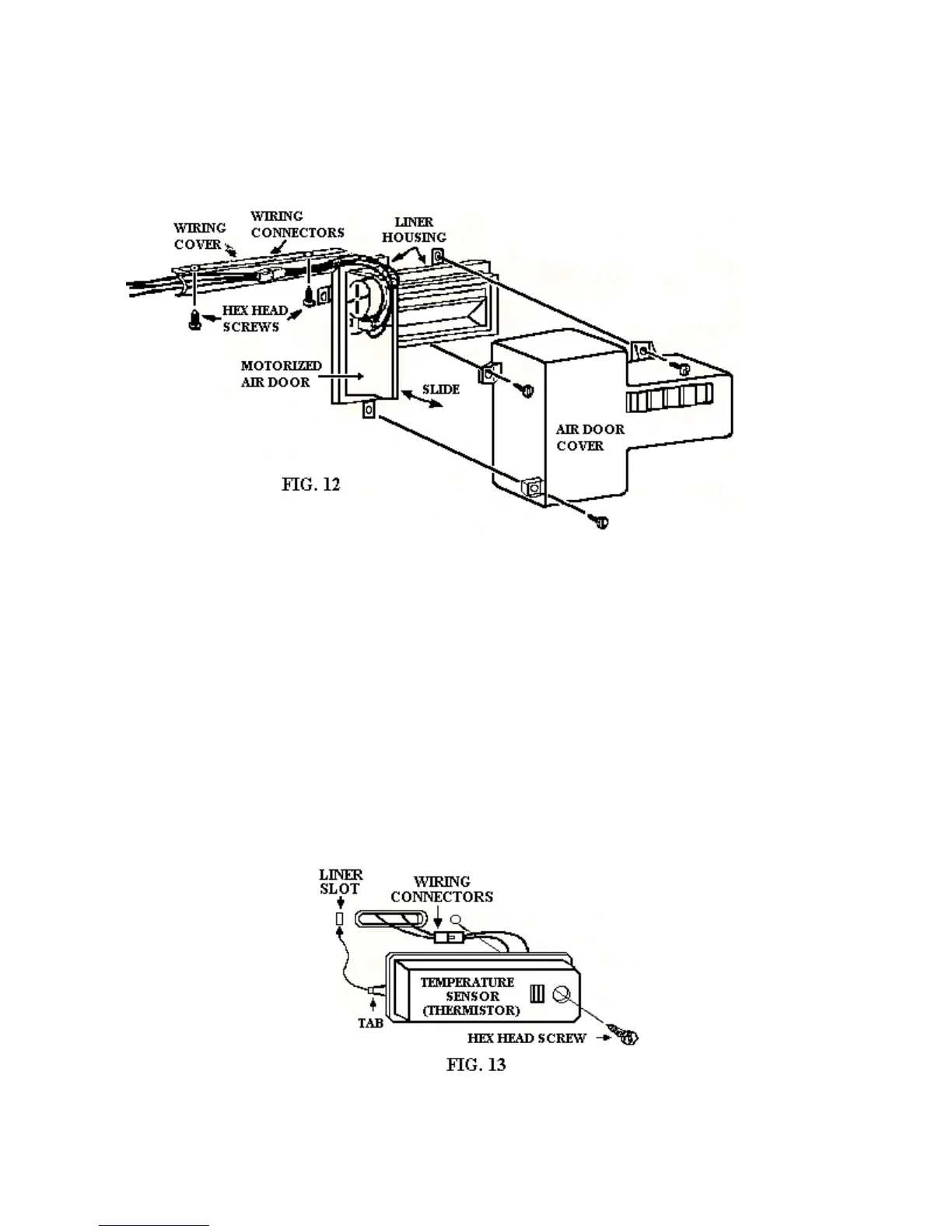
Servicing the Motorized Air Door
The motorized air door assembly is located in the upper rear left corner of the refrigerator section.
1. Remove the three hex head screws securing the air door cover to the cabinet liner and set the
cover aside.
2. Remove the two hex head screws securing the wiring cover to the top of the refrigerator section
liner and remove the wire cover.
3. Disconnect the motorized air door wiring connector from the wiring harness.
4. Slide the motorized air door assembly out of the slot in the liner housing.
Servicing the Thermistor
The refrigerator section temperature sensor is located on the left side of the back wall of the cabinet
approximately one third of the way from the top.
15

Related product manuals