EasyManua.ls Logo

Viper 500+ - Wire Connection Guide

Viper 500+
23 pages
Print Icon
To Next Page IconTo Next Page
To Next Page IconTo Next Page
To Previous Page IconTo Previous Page
To Previous Page IconTo Previous Page
Loading...
© 1995,1997 Directed Electronics, Inc. Vista, CA 9 97N437.597
H1/1 ORANGE
(-) ground-when-armed output: This wire supplies a (-) 500 mA ground as long as the system is armed.
This output ceases as soon as the system is disarmed. The orange wire is pre-wired to control the 8618 starter kill
relay.
NOTE: If connecting the ORANGE wire to control another module, such as a 529T or 530T window controller,
a 1 amp diode (type 1N4004) will be required. Insert the diode as shown below.
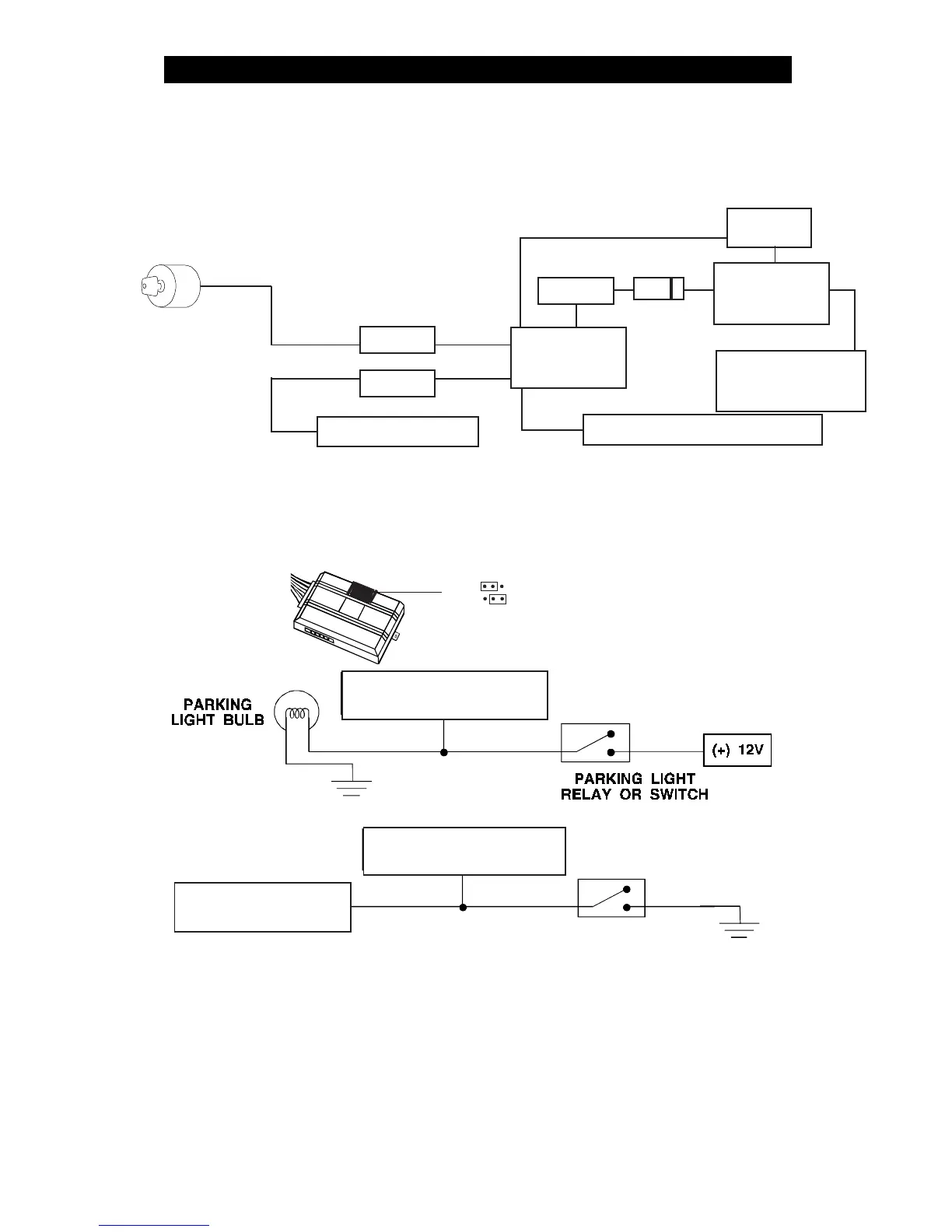
H1/2 WHITE
light flash output: As shipped, this wire should be connected to the (+) parking light wire. If the light flash
polarity jumper under the sliding door is moved to the opposite position (see below), this wire supplies a (-) 200 mA
output. This is suitable for driving (-) light control wires in Toyota, Lexus, BMW, some Mitsubishi, some Mazda, etc.
H1/3 WHITE/BLUE
channel 3 (-) output: This wire provides a (-) 200 mA signal whenever the transmitter code
controlling channel 3 is received. This signal will continue as long as that transmission is received. Use for options such
as the 551T Valet
®
Start system, the 529T or 530T power window controllers, etc.
IMPORTANT! Never use this wire to drive anything but a relay or a low-current input! The transistorized output
can only provide 200 mA of current, and connecting directly to a solenoid, motor, or other high-current device
will cause it to fail.
WIRE CONNECTION GUIDE
LEARN VALET
LIGHT(-) LIGHT (+)
PARKING LIGHT
SWITCH
WHITE H1/2
(-) LIGHT FLASH OUTPUT
FACTORY PARKING
LIGHT RELAY
WHITE H1/2
(+) LIGHT FLASH OUTPUT
BLACK
GREEN
TO STARTER MOTOR
X
X
ORANGE
IGNITION SWITCH
1N4004 DIODE
PRE-WIRED
STARTER KILL
RELAY
ORANGE (-)
WHEN-ARMED
OUTPUT
TO OPTIONAL
SENSORS, 529T,
530T, ETC.
CONTROL
UNIT
IMPORTANT! Never interrupt any wire other than the starter wire. cccc
(+) YELLOW SWITCHED IGNITION
YELLOW

Related product manuals