EasyManua.ls Logo

Vivotek IP7161 - Physical Description; Front Panel; Back Panel

Vivotek IP7161
11 pages
Print Icon
To Next Page IconTo Next Page
To Next Page IconTo Next Page
To Previous Page IconTo Previous Page
To Previous Page IconTo Previous Page
Loading...
4
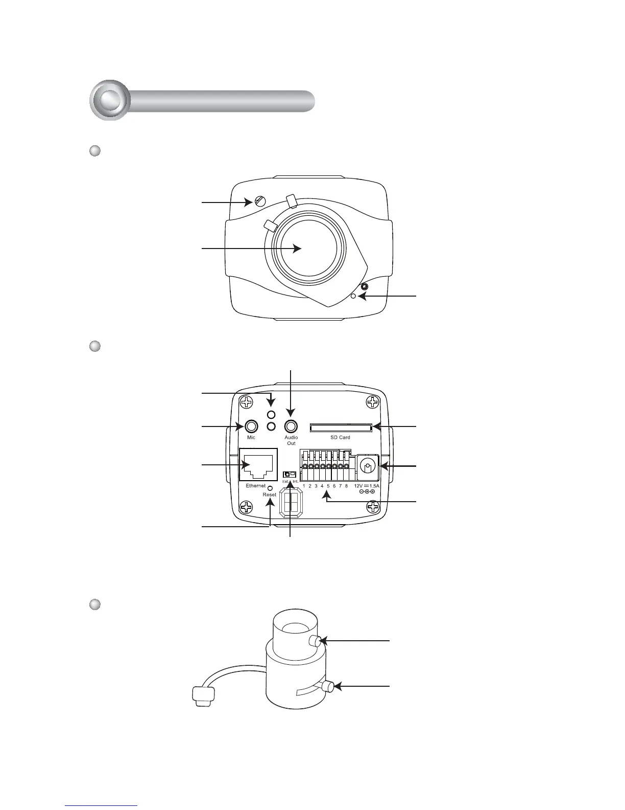
Power Cord Socket
Ethernet 10/100
RJ45 Socket
Recessed Reset
Button
General I/O
Terminal Block
Audio Out
External/Internal MIC Switch
Microphone In
Front Panel
Back Panel
Lens
Focus Controller
Zoom Controller
2
Physical Description
Built-in Microphone
Light Sensor
Status LED
SD/SDHC Card Slot
Lens

Other manuals for Vivotek IP7161

Related product manuals