EasyManua.ls Logo

Vodavi 2802 - Wall Mount (optional); Connections & Wiring

Vodavi 2802
20 pages
Print Icon
To Next Page IconTo Next Page
To Next Page IconTo Next Page
To Previous Page IconTo Previous Page
To Previous Page IconTo Previous Page
Loading...
4Installation
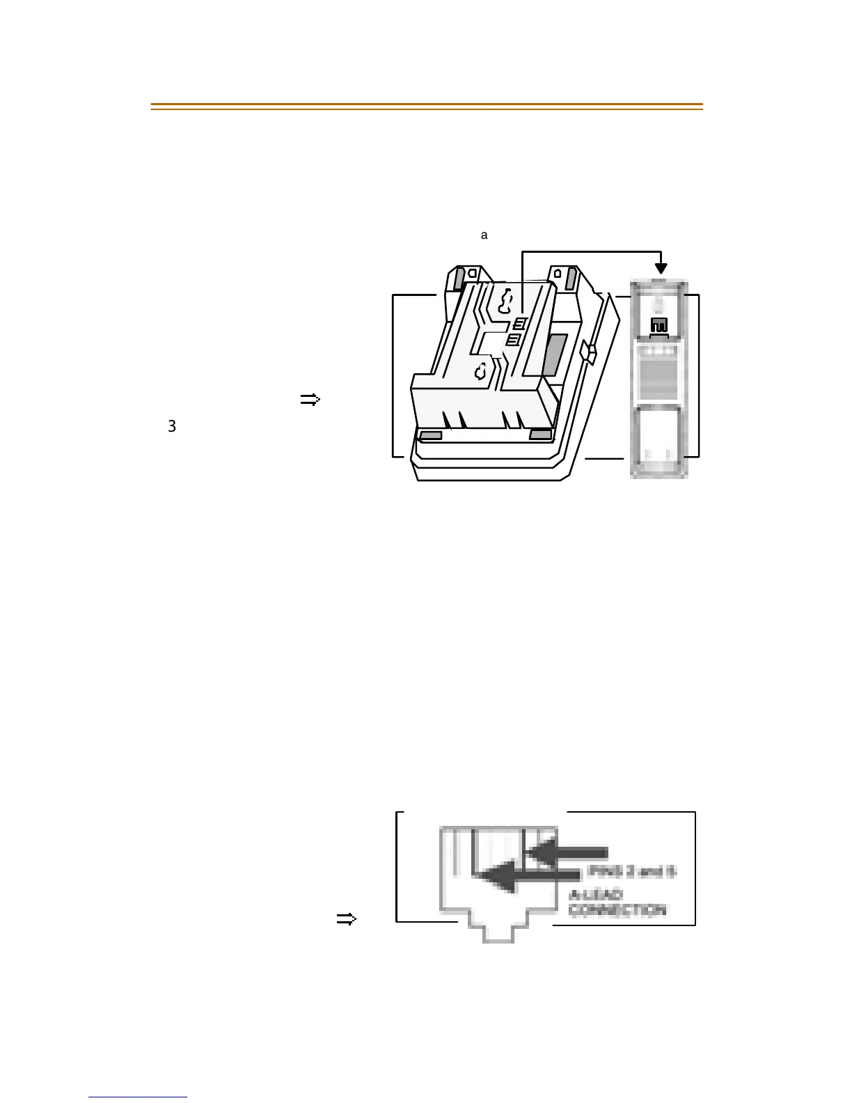
Wa l l M ou nt (optional)
If desired, any 2800 telephone can be converted to a wall mount unit. For
easier mounting, the optional Wall Mount kit comes with a 9-in. line cord.
To install wall mount:
1. Detach one (1) of two
plastic tabs located
on the Wall Mount.
2. Remove the handset
from the cradle; insert
the tab into the slot
bel ow the hoo k swit ch
as shown
3. Unplug existing line
cord from telephone
and wall jack.
4. Run the line cord
pr ovided t hr ou gh the
rectangular opening
of the Wall Mount and plug it into the line jack of the telephone.
5. Insert the bottom” Wall Mount prongs into the slots on the
bottom” of the telephone base.
6. Gently press down on the Wall Mount until the prongs on the top
snap into the slots on thetop” of the telephone base.
7. Plug the other end of the line cor d into the wall jack.
8. Match the two “keyhole slots on the Wall Mount wit h the lugs on
the 630-A type jack, and slide the telephone into place.
9. Return the handset to the cradle; the telephone is ready to use.
Connections & Wiring
A-Lead
An A-Lead Connection is
available on the 2801 & 2802
models. The connection is
made via the LINE1 jack
outer pairs as shown
Wall Mount
Ta b
↓↓
TO P
Handset Cradle
Tab will hold handset securely when
telephone is used as wall mount.
PI NS
1 2 3 4 5 6

Related product manuals