EasyManua.ls Logo

Vogt VT40 - Page 15

Default Icon
20 pages
Print Icon
To Next Page IconTo Next Page
To Next Page IconTo Next Page
To Previous Page IconTo Previous Page
To Previous Page IconTo Previous Page
Loading...
Vogt
®
VT Service Manual 2-7
Installation Instructions
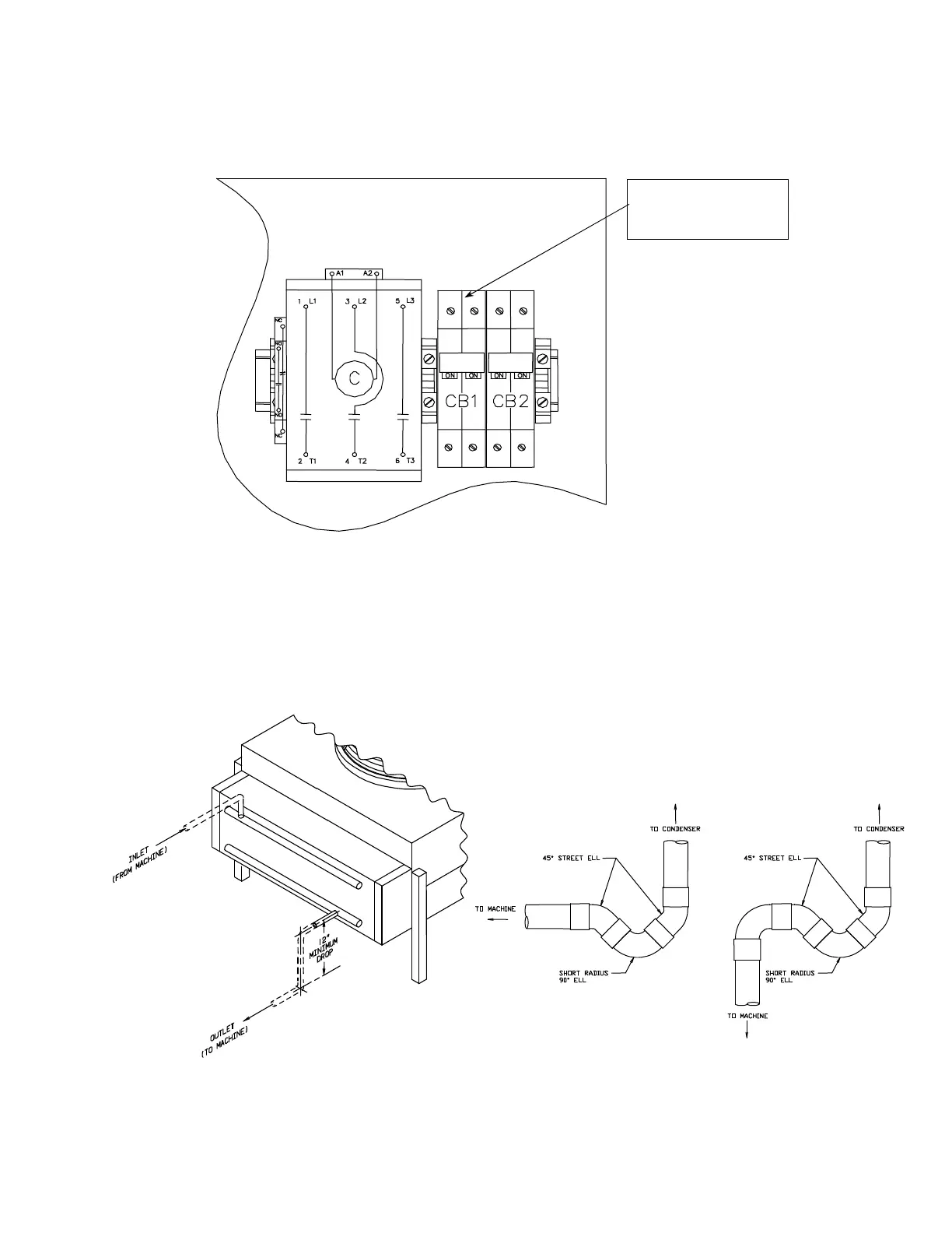
Power is supplied to the lowside through circuit breaker (CB1) located in the condensing unit control panel.
See diagram below.
FIGURE 2-7
Condensing Unit Circuit Breakers (200/230V)
Air Cooled Condenser Installation (VT100):
Ice making systems with remote condensers are
trapped internally. A trap leaving the compressor is not necessary. On vertical runs a short radius “P” trap
should be installed every 15’ to 20 of vertical rise to facilitate oil flow. Horizontal runs should be sloped in
direction of refrigerant flow 1” for every 20 of run. The condenser should be securely mounted in a place
capable of sustaining its weight.
FIGURE 2-8
Condenser Piping (VT100) and Recommended Traps
Condensing unit control panel
10A
15A
CB1 supplies power
to lowside unit

Other manuals for Vogt VT40

Related product manuals