EasyManua.ls Logo

Voith CTO-B45202 - Product Function and Operation; Mechanical Design Overview

Default Icon
27 pages
Print Icon
To Next Page IconTo Next Page
To Next Page IconTo Next Page
To Previous Page IconTo Previous Page
To Previous Page IconTo Previous Page
Loading...
Instruction and Operating Manual
Overspeed Protector CTO-B45202
2019 / 02
J.M. Voith SE & Co. KG │ Division Digital Ventures
Page: 9 / 25
918 3626018864 en
D 74564 Crailsheim
Version: 2.1
3 Function
3.1 Mechanical design
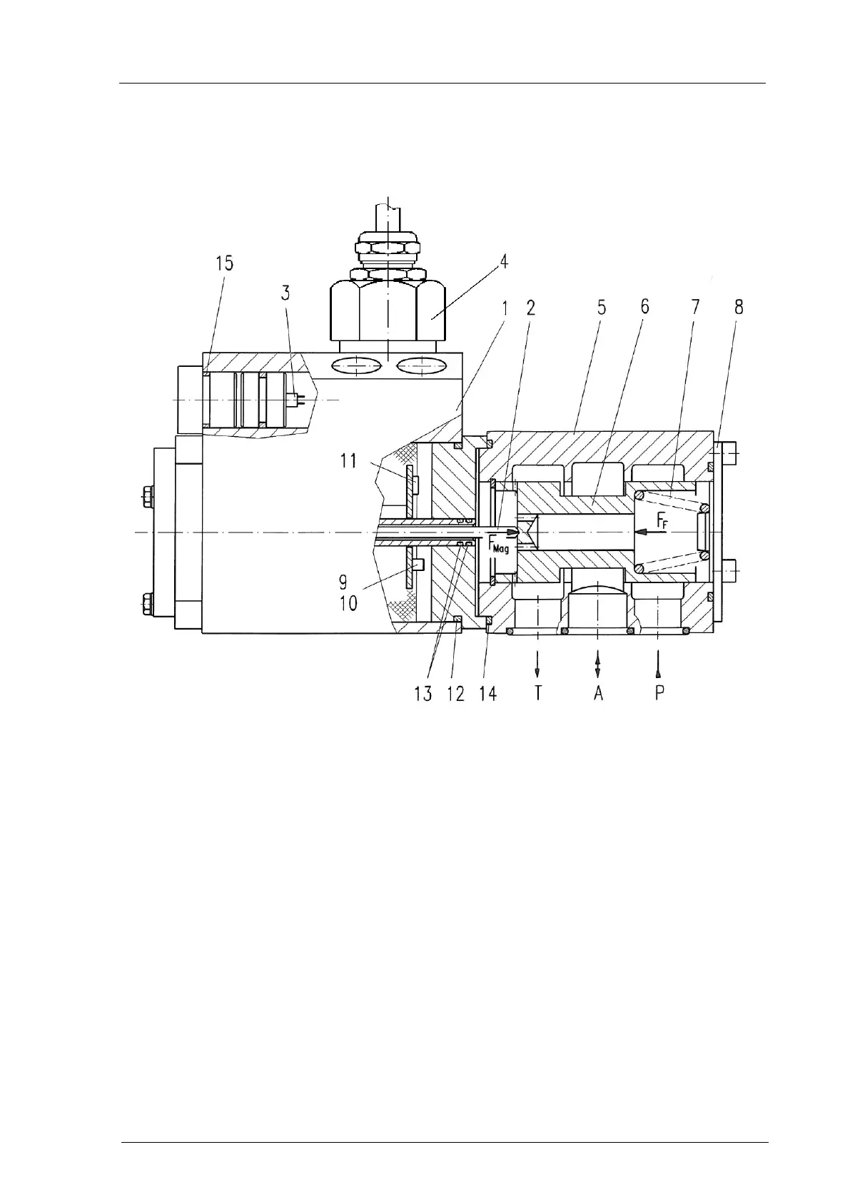
Fig. 1: Sectional view of overspeed protector
The overspeed protector consists of the main functional units:
(1) Control magnet VRM P - supply pressure
(2) Tappet for power transmission A - output
(3) Potentiometer T4 T - Tank return line
(4) Electrical connection
(5) Control housing
(6) Control piston F
Mag
- Magnetic force
(7) Restoring spring F
F
- Federkraft
(8) Cover
(9) Potentiometer Uf
(10) Potentiometer If
(11) 8-fold coding switch
(12) Sealing - electronic compartment cover
(13) Sealing - pole pipe
(14) O-ring for the VRM
(15) O-ring in the potentiometer cover

Related product manuals