EasyManua.ls Logo

Volvo Penta IPS800 - Page 40

Volvo Penta IPS800
132 pages
Print Icon
To Next Page IconTo Next Page
To Next Page IconTo Next Page
To Previous Page IconTo Previous Page
To Previous Page IconTo Previous Page
Loading...
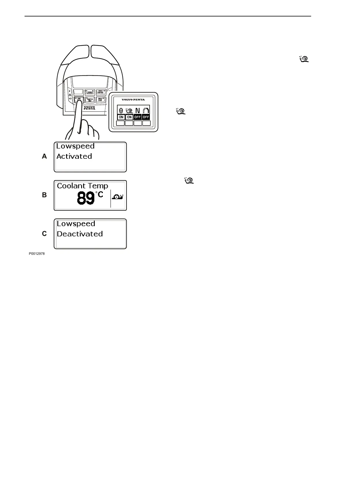
Engaging the low speed function
1 Move the lever to the neutral position.
2
Press
the Low Speed button on the control or
on the helm station panel to activate the low speed
function.
An audible
signal and the message “Lowspeed acti-
vated” (A) will be displayed on screen to confirm
that the function is on.
is shown on the screen if the low speed function
is active (B).
When the low speed function is engaged a delay may
occur when shifting.
Disengage the low speed function
1 Move the lever to the neutral position.
2
Press the Low Speed button on the control or
on the helm station panel to disengage the
low speed function.
Two audible signals confirm that the function is
switched off and the “Lowspeed deactivated”
(C)message is displayed on the screen.
Optional
38 47702095 04-2011

Related product manuals