EasyManua.ls Logo

Volvo Penta TAMD40/MS3C - Wiring Diagram

Volvo Penta TAMD40/MS3C
56 pages
Print Icon
To Next Page IconTo Next Page
To Next Page IconTo Next Page
To Previous Page IconTo Previous Page
To Previous Page IconTo Previous Page
Loading...
47
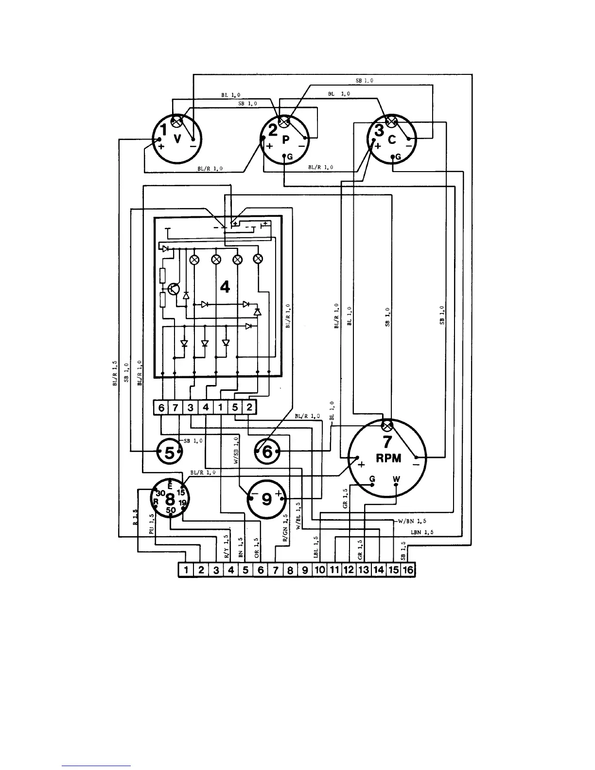
INSTRUMENTPANEL
1. Voltmeter
2. Oljetrycksmätare
3. Temperturmätare för
kylvatten
4. Instrumentkort
5. Tryckknapp
6. Strömbrytare för instru-
mentbelysning
7. Varvräknare
8. Nyckelströmbrytare
9. Alarm
Wiring diagram
Elkopplingsschema
INSTRUMENT PANEL
1. Voltmeter
2. Oil pressure gauge
3. Coolant temperature
gauge
4. Printed circuit card
5. Push button
6. Switch for instrument
lighting
7. Rev. counter
8. Key switch
9. Alarm

Table of Contents