EasyManua.ls Logo

WACKER Group PT 6LT - Wiring Diagram - Trailer

WACKER Group PT 6LT
66 pages
Print Icon
To Next Page IconTo Next Page
To Next Page IconTo Next Page
To Previous Page IconTo Previous Page
To Previous Page IconTo Previous Page
Loading...
PT 6 /... Maintenance
wc_tx000567gb.fm 45
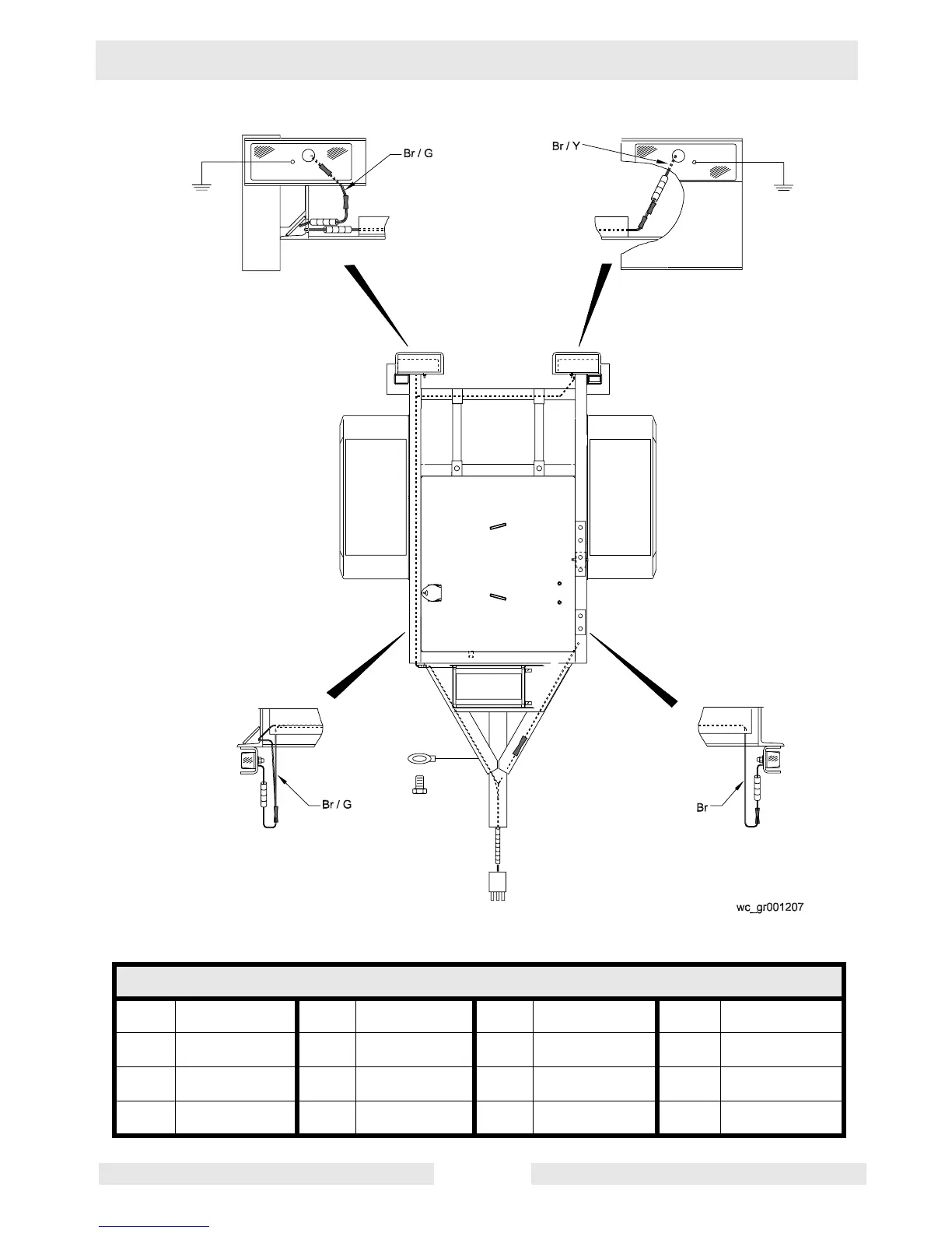
5.23 Wiring Diagram — Trailer
Wire Colors
B Black R Red Y Yellow Or Orange
G Green T Tan Br Brown Pr Purple
L Blue V Violet Cl Clear Sh Shield
P Pink W White Gr Gray LL Light blue