EasyManua.ls Logo

Walker 42” - Male Quick Hitch Assembly - 6625

Walker 42”
40 pages
Print Icon
To Next Page IconTo Next Page
To Next Page IconTo Next Page
To Previous Page IconTo Previous Page
To Previous Page IconTo Previous Page
Loading...
PARTS
OM 0182SB-A 22
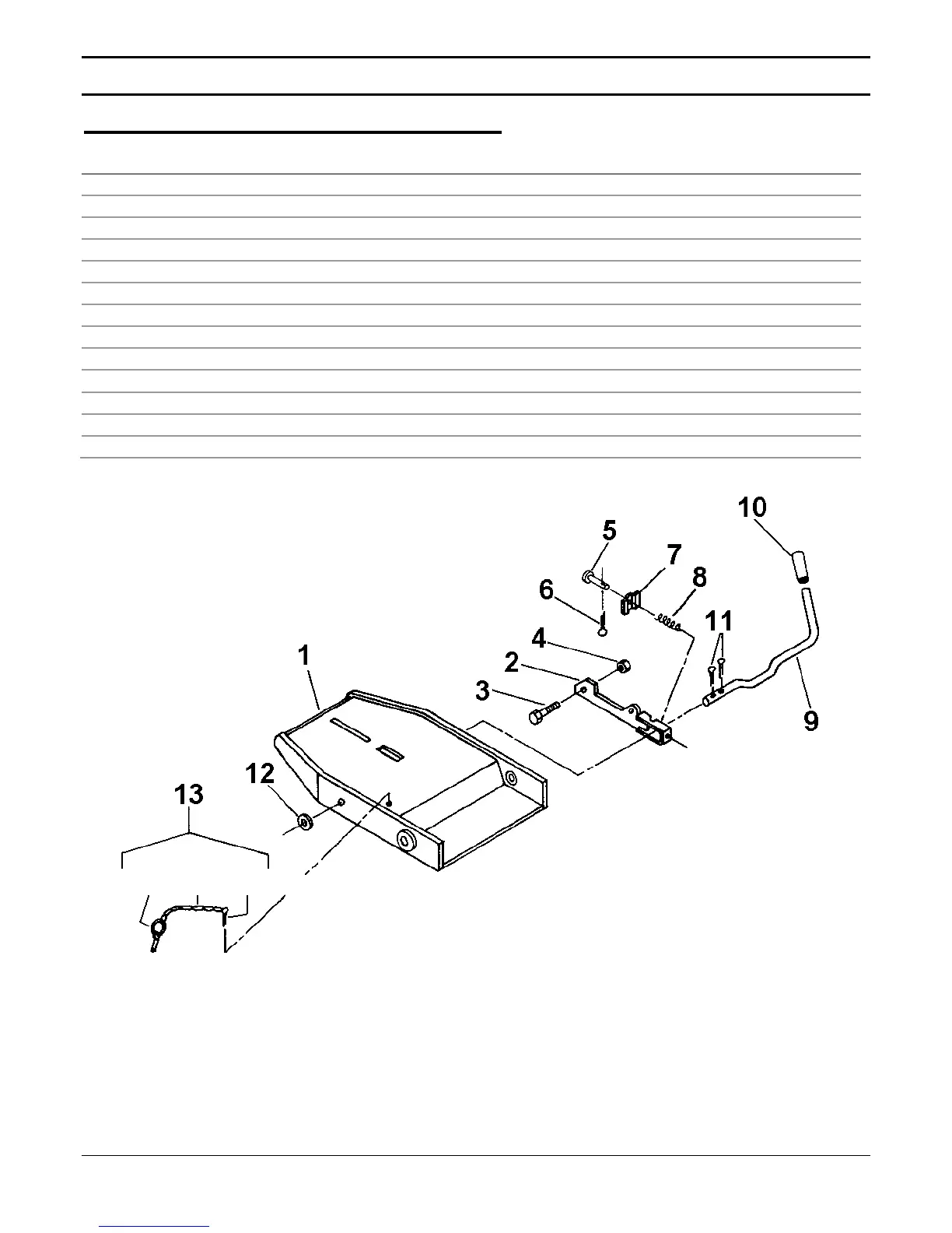
MALE QUICK HITCH ASSEMBLY - 6625
REF.
DESCRIPTION
QTY
PART NUMBER
1
Male quick hitch
1
660980
2
Quick hitch latch
1
657382
3
Hex. bolt 3/8” NC x 1 1/2”
1
0100040
4
Nylon lock nut 3/8” NC
1
1000006
5
Pin 1/4” dia x 1 5/8”
1
657384
6
Cotter pin 5/64" dia. x 1"
1
1500032
7
Spring plate
1
657383
8
Spring
1
657385
9
Attaching lever
1
657381
10
Plastic handle
1
656797
11
Cotter pin 1/8” dia x 1”
2
1500016
12
Flat washer 1/2" (9/16” hole) PTD
1
1400006
13
Safety chain ass'y
1
657632

Related product manuals