EasyManua.ls Logo

Walker SaorView WP24LEDVD - Viewing the Connections - Side Connectors; Power Connection; Aerial Connection

Walker SaorView WP24LEDVD
41 pages
Print Icon
To Next Page IconTo Next Page
To Next Page IconTo Next Page
To Previous Page IconTo Previous Page
To Previous Page IconTo Previous Page
Loading...
English - 8 -
PC Input5. is for connecting a personal computer to the TV set.
Connect the PC cable between the PC INPUT on the TV and the PC output on your PC.
Note: You can use YPbPr to VGA cable(not supplied) to enable YPbPr signal via PC input.
S/PDIF Coaxial Out6. outputs digital audio signals of the currently watched source.
Use an SPDIF coaxial cable to trasfer audio signals to a device that has S/PDIF input.
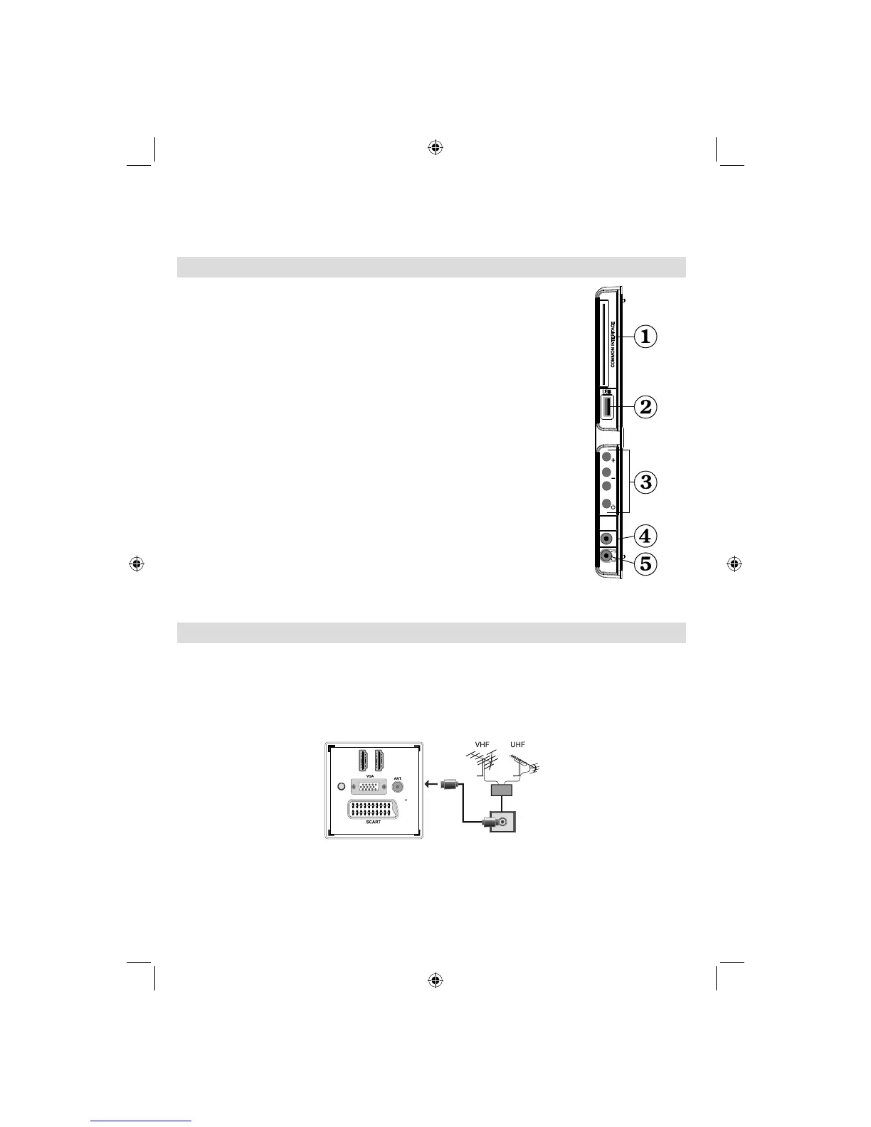
Viewing the Connections - Side Connectors
CI Slot is used for inserting a CI card. A CI card allows you to view all the 1.
channels that you subscribe to. For more information, see “Conditional
Access” section.
Side USB input.2.
TV control buttons.3.
Side audio-video connection4. input is used for connecting video and audio
signals of external devices. To make a video connection, you must use the
supplied AV connection cable for enabling connection. First, plug singular jack
of the cable to the TV’s Side AV socket. Afterwards, insert your video cable’s
(not supplied) connector into the YELLOW input (located on the plural side)
of the supplied AV connection cable. Colours of the connected jacks should
match.
To enable audio connection, you must use RED and WHITE inputs of the side
AV connection cable. Afterwards, insert your device’s audio cable’s connectors
into the RED and WHITE jack of the supplied side AV connection cable.
Colours of the connected jacks should match.
Note: You should use audio inputs of side AV connection cable (RED &
WHITE) to enable sound connection when connecting a device to your TV by
using PC or COMPONENT VIDEO input.
Headphone jack is used for connecting an external headphone to the system. 5.
Connect to the HEADPHONE jack to listen to the TV from headphones
(optional).
Power Connection
IMPORTANT: The TV set is designed to operate on 220-240V AC, 50 Hz.
After unpacking, allow the TV set to reach the ambient room temperature before you connect the set to the
mains. Plug the power cable to the mains socket outlet.
Aerial Connection
Connect the aerial or cable TV plug to the AERIAL INPUT socket located at the rear of the TV.
HDMI 1
DMHI 2
SPDIF
Coax.OUT
USB
5Vdc
Max:500mA
P\V-AV
SIDE AV
01_MB60_[GB]_(01-TV)_woypbpr_1910UK_IDTV_NICKEL16_24940LED_10075239_50199287.indd 801_MB60_[GB]_(01-TV)_woypbpr_1910UK_IDTV_NICKEL16_24940LED_10075239_50199287.indd 8 20.09.2011 16:36:4120.09.2011 16:36:41

Table of Contents

Related product manuals