EasyManua.ls Logo

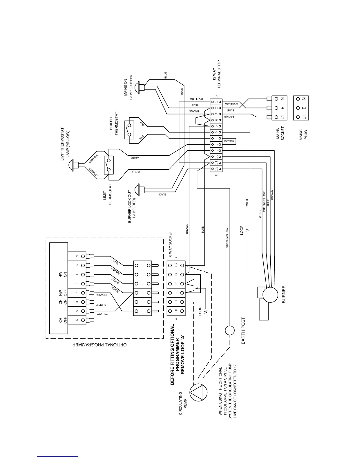
WarmFlow 120/150 - Goldbird Control Panel Wiring; Goldbird Control Panel Wiring Diagram

Default Icon
52 pages
Print Icon
To Next Page IconTo Next Page
To Next Page IconTo Next Page
To Previous Page IconTo Previous Page
To Previous Page IconTo Previous Page
Loading...
5.3 Control Panel Wiring (Goldbird Boilers)
Page 15

Table of Contents

Other manuals for WarmFlow 120/150

Related product manuals