EasyManua.ls Logo

WatchNet MPIX Series - Page 22

WatchNet MPIX Series
37 pages
Print Icon
To Next Page IconTo Next Page
To Next Page IconTo Next Page
To Previous Page IconTo Previous Page
To Previous Page IconTo Previous Page
Loading...
16
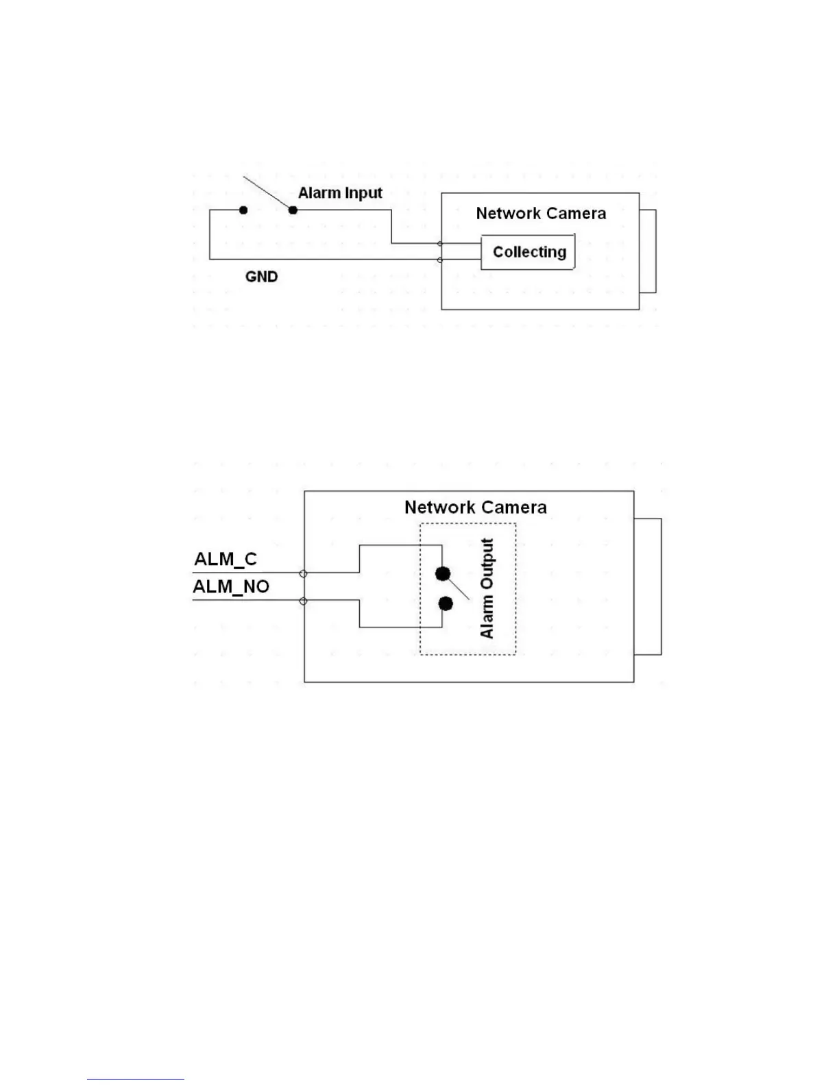
Please refer to the following figure for alarm input information. See Figure 2-8.
Alarm input: When the input signal is idle or grounded, the device can collect the different statuses of the
alarm input port. When the input signal is connected to the 5V or is idle, the device collects the logic 1.
When the input signal is grounded, the device collects the logic 0.
Figure 2-8
Please refer to the following figure for alarm output information. See Figure 2-9.
Port ALARM_COM and Port ALARM_NO composes an on-off button to provide the alarm output.
If the type is NO, this button is normal open. The button becomes on when there is an alarm output.
If the type is NC, this button is normal off. The button becomes off when there is an alarm output.
Figure 2-9

Related product manuals