EasyManua.ls Logo

Wayne P265DI - Sequence of Operation

Wayne P265DI
26 pages
Print Icon
To Next Page IconTo Next Page
To Next Page IconTo Next Page
To Previous Page IconTo Previous Page
To Previous Page IconTo Previous Page
Loading...
14
IMPORTANT: The electronic S8600 control Module cannot be repaired. If troubleshooting procedure indicates a malfunction in
the S8600, the control Module must be replaced. Intermittent pilot systems should be serviced only by trained
and experienced personnel.
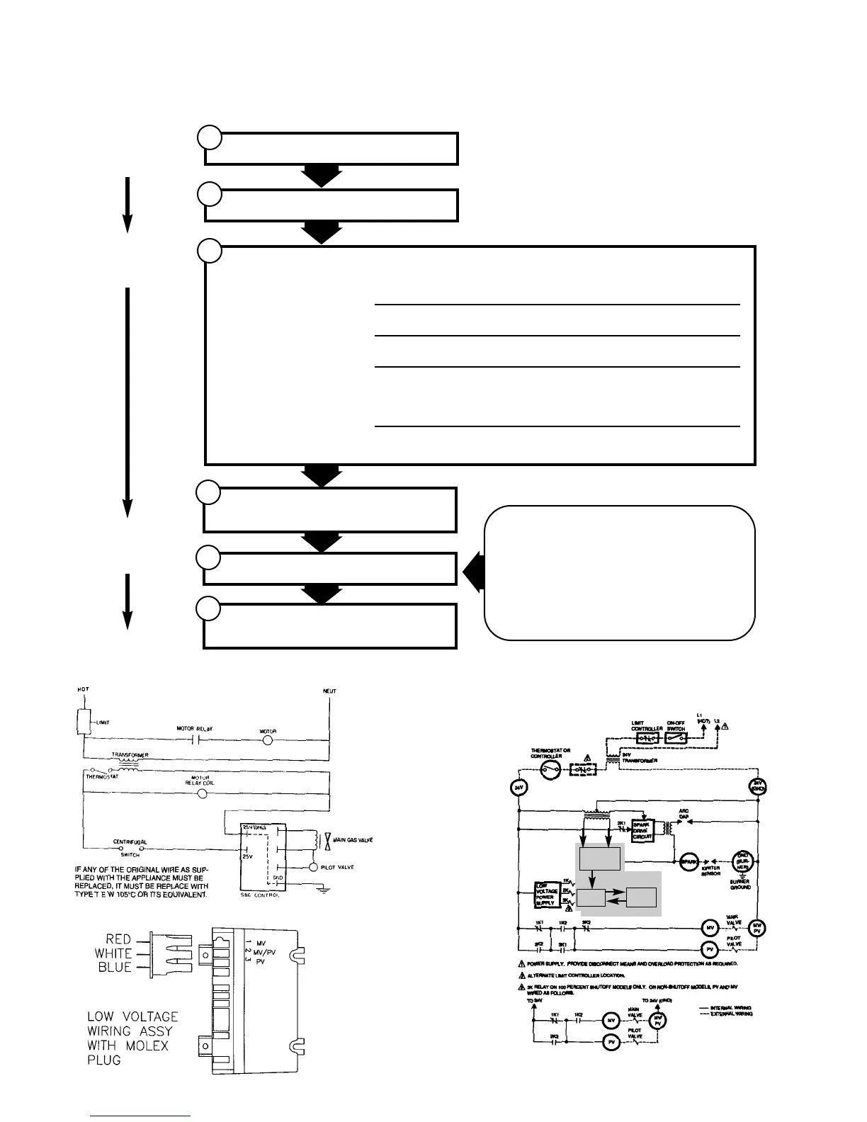
SEQUENCE OF OPERATION
1
THERMOSTAT (CONTROLLER)
CALLS FOR HEA
T
2
SPARK GENERATOR
powered by First Valve (pilot) operator opens
4
FLAME CURRENT SENSED
• Spark generator off
• Second valve operator (main) opens.
4
MAIN BURNER OPERATION
Module monitors pilot flame current.
4
THERMOSTAT (CONTROLLED)
SATISFIED
Valves close, pilot and main burners are off.
3
PILOT BURNER OPERATION
Pilot burner lights.
Module senses
flame current.
OR
Pilot burner does not light
Module Response
S8600A,F Ignition spark continues, pilot valve remains
S8610A, F open until system is reset
S8600B, H After 15 or 90 sec. a system
S8610B, H lock outs; must be manually reset
S8600M After on sec. a system shuts off; after 5 minutes
min. (6 minutes nom.), module restarts trial for
ignition; ignition trial, shutoff, wait sequence
repeats until pilot lights or call for heat ends.
a Shutoff/lockout timing is stamped on module
POWER INTERRUPTION
System shuts off, restarts when power is
restored.
PILOT FLAME FAILURE
Mail valve closes.
Module starts trial for ignition.
START
STAGE 1
TRIAL FOR
IGNITION
STAGE 2
MAIN BURNER
OPERATION
END
WIRING DIAGRAM LADDER FORM
WIRING DIAGRAM HONEYWELL EP SYSTEM
S86
FLAME
DETECTOR
CIRCUIT
RELAY
COVERS
TIMING
CIRCUITS

Related product manuals