EasyManua.ls Logo

Wayne P265DI - Page 21

Wayne P265DI
26 pages
Print Icon
To Next Page IconTo Next Page
To Next Page IconTo Next Page
To Previous Page IconTo Previous Page
To Previous Page IconTo Previous Page
Loading...
20
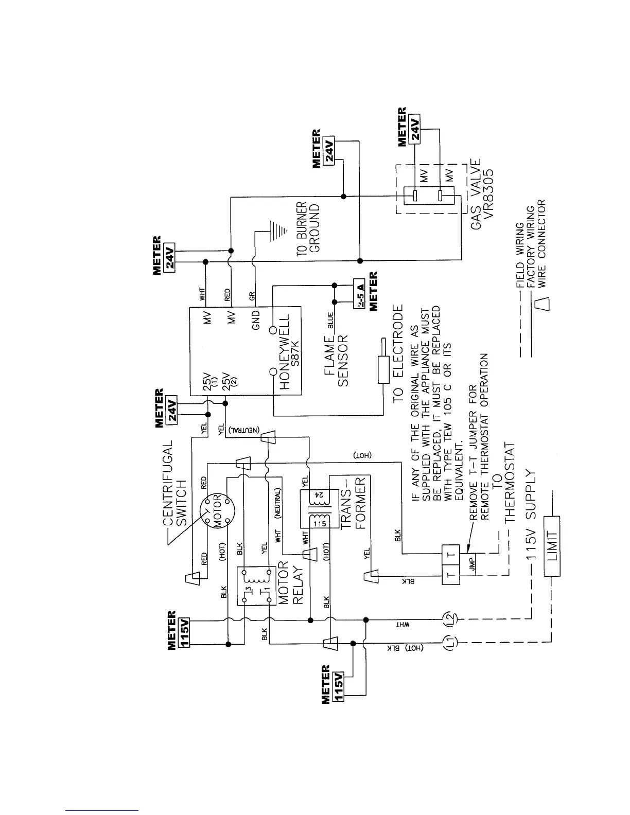
WIRING TROUBLESHOOTING DIAGRAM
HONEYWELL S87KDI OPERATING SYSTEM

Related product manuals