EasyManua.ls Logo

WEICHAI WP6GNA - Cylinder Head Cover Assembly and Disassembly

WEICHAI WP6GNA
82 pages
Print Icon
To Next Page IconTo Next Page
To Next Page IconTo Next Page
To Previous Page IconTo Previous Page
To Previous Page IconTo Previous Page
Loading...
Weichai America Corp.
Revision: August 2019 37
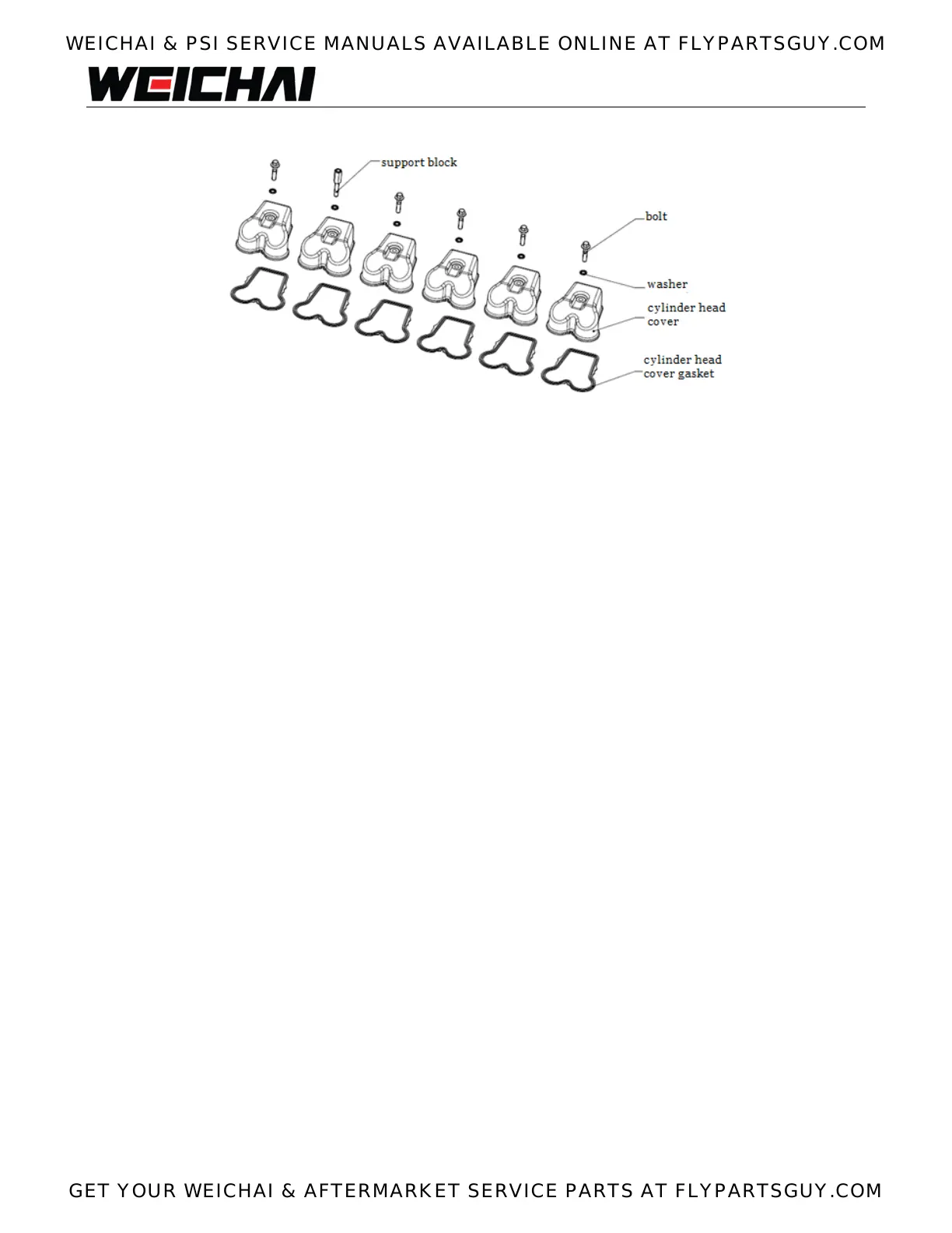
Fig. 9-2 Exploded view of cylinder head cover
9.2.2 Cylinder Head Cover Disassembly Procedure
1) Loosen the cylinder head cover bolts. Remove the bolts and the washers.
2) Pull the covers up vertically to remove them. Remove all gaskets.
9.2.3 Cylinder Head Cover Assembly Procedure
1) Use new cylinder head cover gaskets for all assemblies and inspect them for any defects or
damage prior to assembly.
2) Clean the upper surface of the cylinder head. Install cylinder head cover gaskets.
3) Clean and install cylinder head cover.
4) Install the bolts and fasten. The required torque is 10~15Nm.
9.2.4 Cylinder Head Cover Inspection and Maintenance
Key point 1: Assembling
Cylinder head cover gaskets are disposable, and should be replaced during maintenance.
Key point 2: Inspection
1) Check the covers for any cracks or other damage. Replace if damaged.
2) If there is leakage through the cylinder head cover gaskets, then all gaskets should be checked
and replaced.
WEICHAI & PSI SERVICE MANUALS AVAILABLE ONLINE AT FLYPARTSGUY.COM
GET YOUR WEICHAI & AFTERMARKET SERVICE PARTS AT FLYPARTSGUY.COM

Table of Contents

Related product manuals