EasyManua.ls Logo

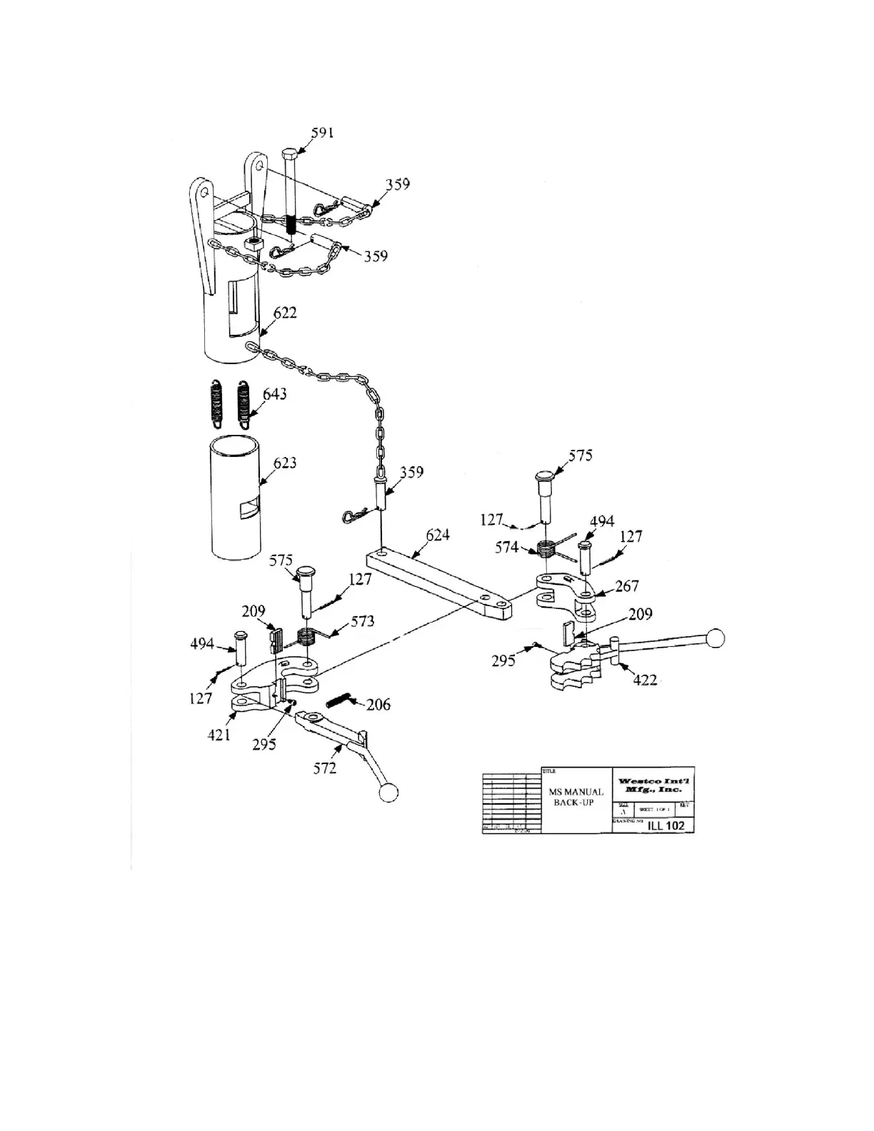
Westco 4500 - Photo of Ms Manual Back-Up

Default Icon
39 pages
Print Icon
To Next Page IconTo Next Page
To Next Page IconTo Next Page
To Previous Page IconTo Previous Page
To Previous Page IconTo Previous Page
Loading...
39