EasyManua.ls Logo

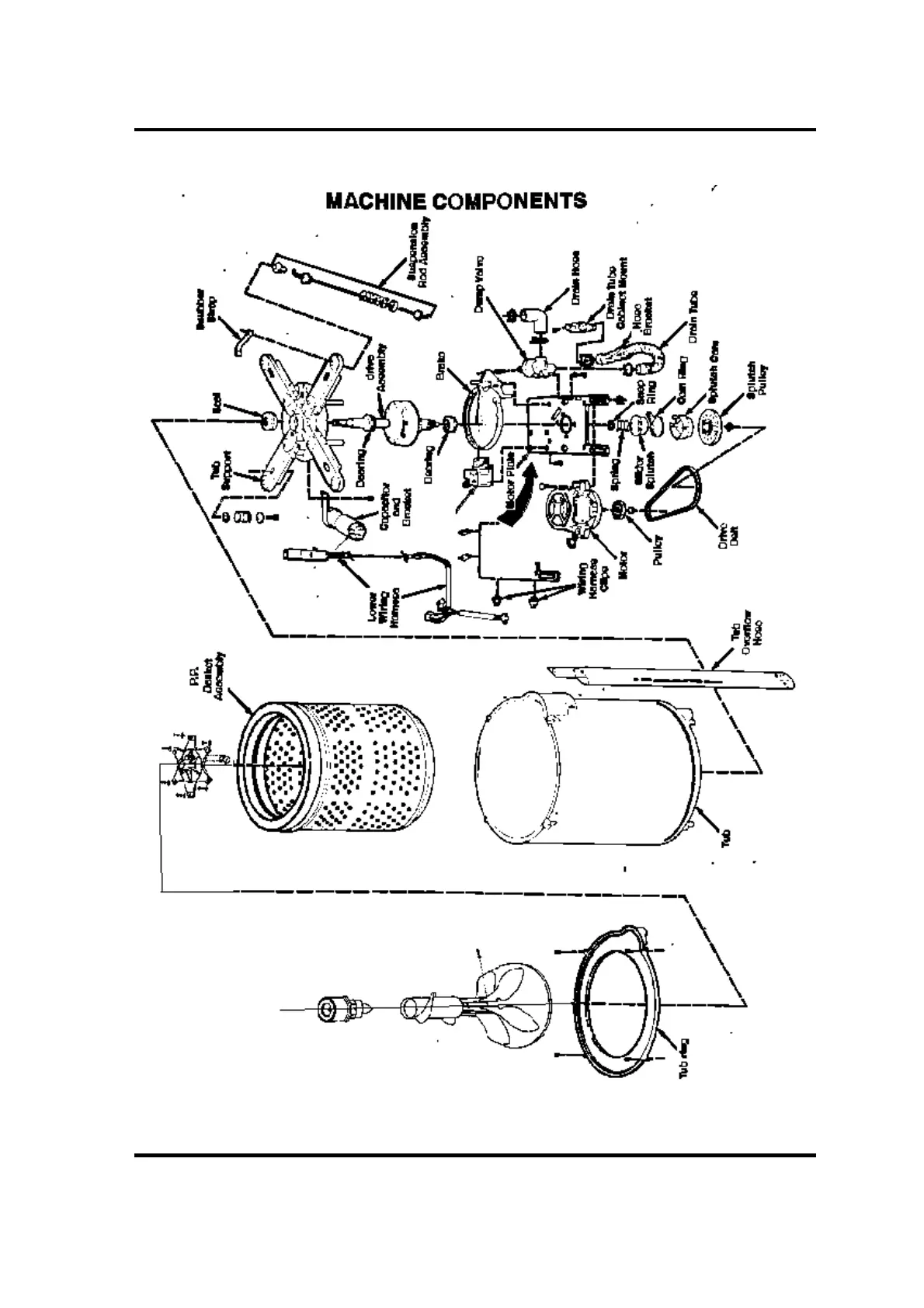
Whirlpool White Magic - Washing Machine Components Overview

Whirlpool White Magic
44 pages
Print Icon
To Next Page IconTo Next Page
To Next Page IconTo Next Page
To Previous Page IconTo Previous Page
To Previous Page IconTo Previous Page
Loading...
Whirlpool of India
WHITE MAGIC
MODELS: WW JB 629 –13 A & WW JB 629 –H3A
This document is only intended for qualified technicians who are aware of the respective safety
regulations.
Releaded Date 27
h
Feb, 2001 Subject to modification
Document No. WOI/WM/2001/001
PAGE 17 of 44

Related product manuals