EasyManua.ls Logo

WTI IPS-800 - 2 Unit Description

WTI IPS-800
60 pages
Print Icon
To Next Page IconTo Next Page
To Next Page IconTo Next Page
To Previous Page IconTo Previous Page
To Previous Page IconTo Previous Page
Loading...
2-1
2. Unit Description
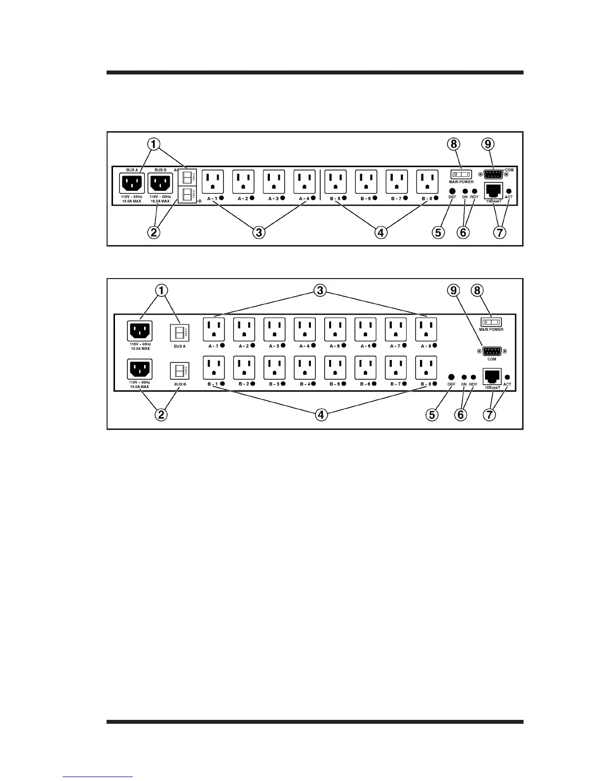
As shown in Figure 2.1 and Figure 2.2, the IPS back panel includes connectors,
LEDs and manual controls described below:
Figure 2.1: IPS-800 Back Panel (120 VAC Model Shown)
Bus "A" Power Inlet and Circuit Breaker: An IEC-320-C14 AC inlet
and circuit breaker which supply power to the Circuit "A" outlets. Also
includes cable keeper (not shown.)
Model RPS-820: 208 - 240 VAC Power Inlet, 10 Amp Circuit Breaker.
Model RPS-830: 100 - 120 VAC Power Inlet, 15 Amp Circuit Breaker.
Bus "B" Power Inlet and Circuit Breaker: An IEC-320-C14 AC inlet
and circuit breaker which supply power to the Circuit "B" outlets. Also
includes cable keeper (not shown.) Includes the same components listed
in Item 1 above.
Figure 2.2: IPS-1600 Back Panel (120 VAC Model Shown)

Table of Contents

Related product manuals