EasyManua.ls Logo

Yamaha 85AEHD - Clamp Bracket Dimensions

Yamaha 85AEHD
329 pages
Print Icon
To Next Page IconTo Next Page
To Next Page IconTo Next Page
To Previous Page IconTo Previous Page
To Previous Page IconTo Previous Page
Loading...
1-30
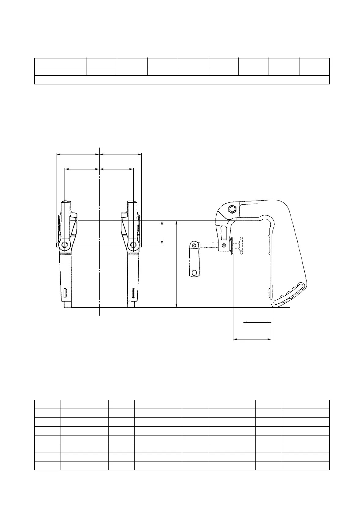
OUTBOARD MOTOR DIMENSIONS
CLAMP BRACKET DIMENSIONS
Global model F2A F2.5A
US/CA model F2.5A
Manual tilt
Symbol mm (in.) Symbol mm (in.) Symbol mm (in.) Symbol mm (in.)
B1 B8 C1 22 (0.9) D1
B2 B9 C2 58 (2.3) D2
B3 B10 C3 D3
B4 B11 56 (2.2) D4
B5 69 (2.7) B12 40 (1.6)
B6 143.7 (5.7)
B7
B6
B12
B5
C/L
B5
B11
B11
C1
C2

Table of Contents

Other manuals for Yamaha 85AEHD

Related product manuals