EasyManua.ls Logo

Yamaha 85AEHD - Page 46

Yamaha 85AEHD
329 pages
Print Icon
To Next Page IconTo Next Page
To Next Page IconTo Next Page
To Previous Page IconTo Previous Page
To Previous Page IconTo Previous Page
Loading...
1-38
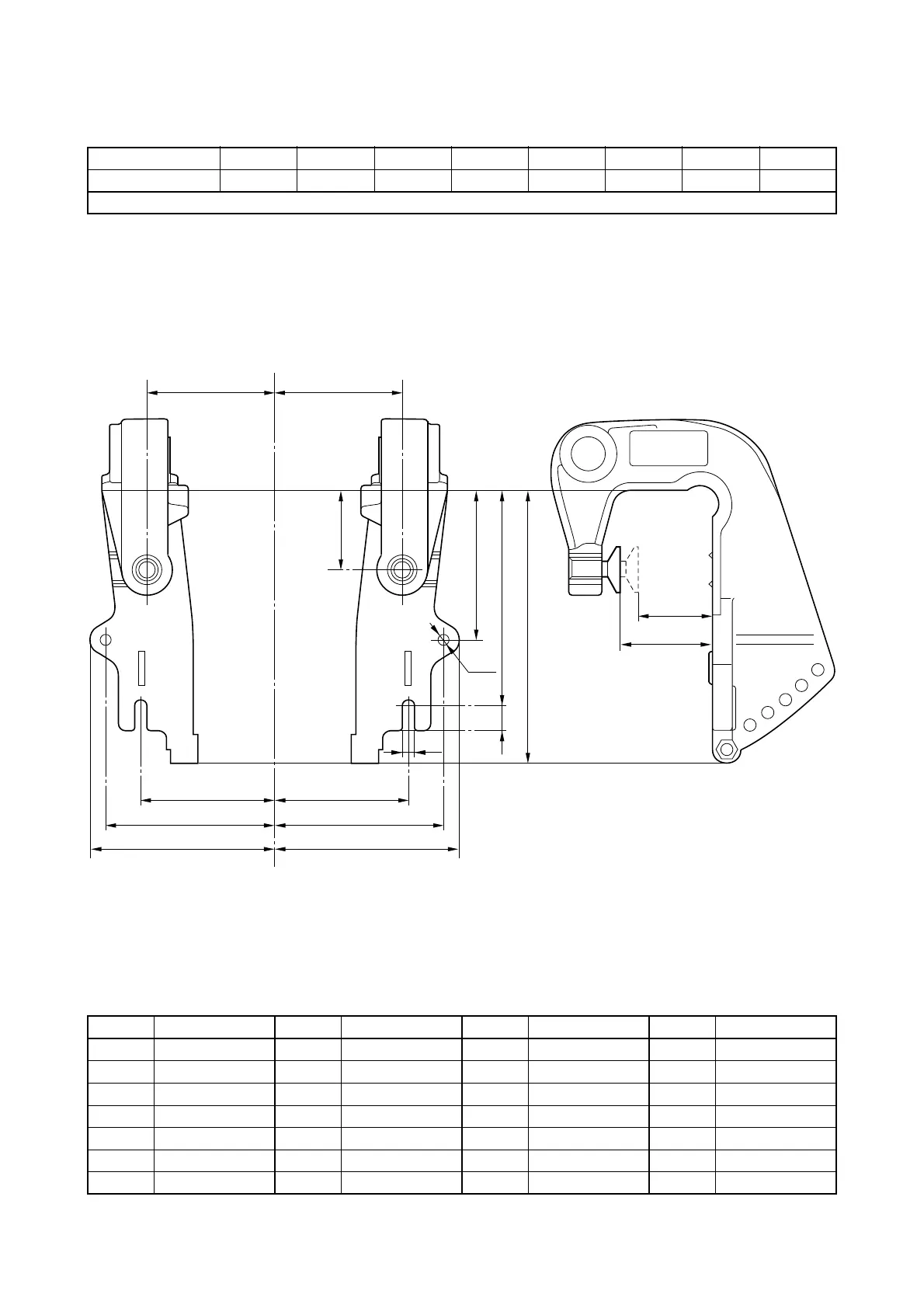
OUTBOARD MOTOR DIMENSIONS
CLAMP BRACKET DIMENSIONS
Global model E/25B 25X E/30H EK25B EK25C
US/CA model
Manual tilt
Symbol mm (in.) Symbol mm (in.) Symbol mm (in.) Symbol mm (in.)
B1 89 (3.5) B8 C1 35 (1.4) D1 8.5 (0.33)
B2 140 (5.5) B9 C2 65 (2.6) D2 15 (0.59)
B3 112.5 (4.4) B10 C3 D3
B4 96.5 (3.8) B11 85 (3.3) D4
B5 122.5 (4.8) B12 51 (2.0)
B6 176 (6.9)
B7
B11
C/L
B3
B1
B5
C2
B2
B12
B4
D2
B6
C1
D1
B1
1
B3
B1
B5
D1

Table of Contents