EasyManua.ls Logo

Yamaha D5000 - Block Diagram

Yamaha D5000
42 pages
Print Icon
To Next Page IconTo Next Page
To Next Page IconTo Next Page
To Previous Page IconTo Previous Page
To Previous Page IconTo Previous Page
Loading...
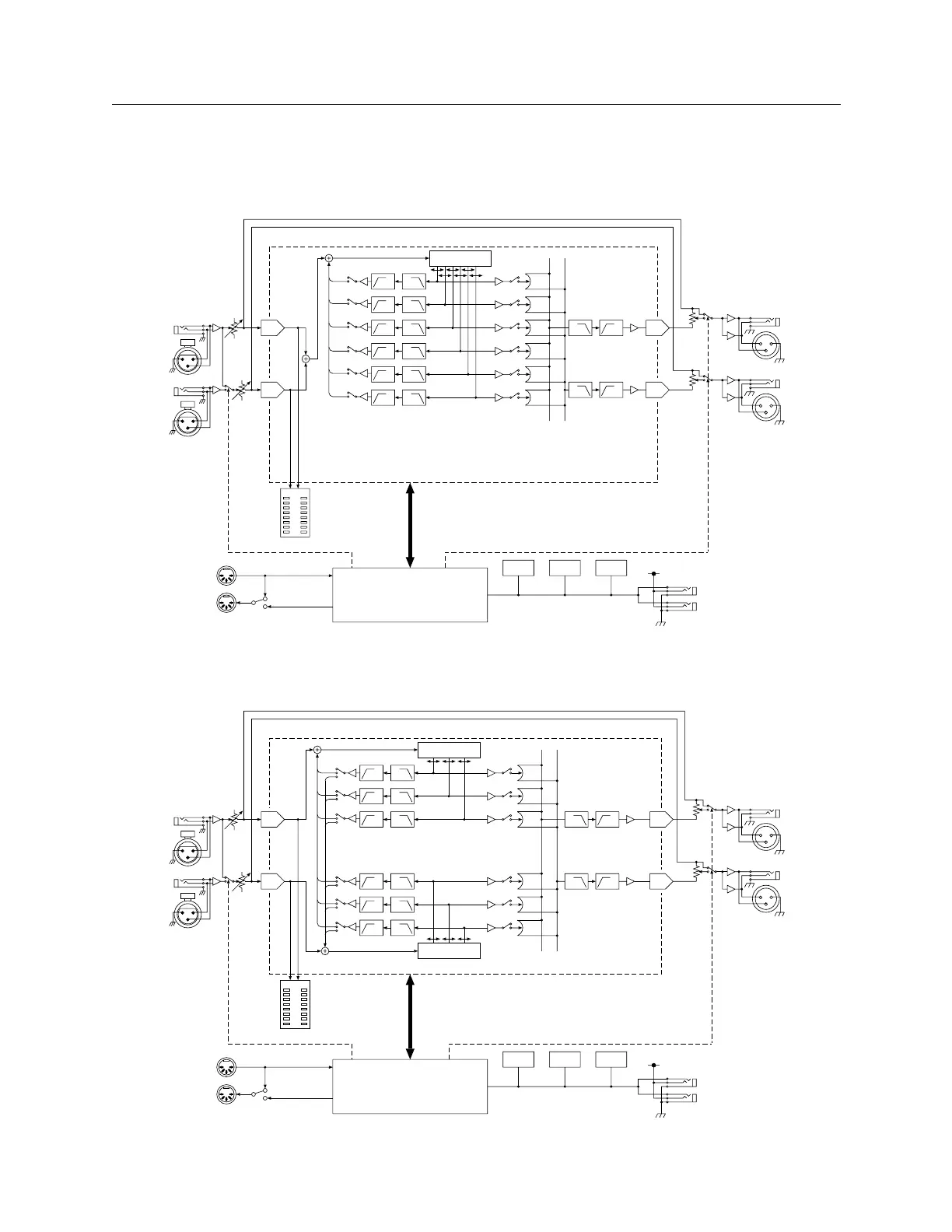
100 - Block diagram/Schéma de principe/Blockdeagramm
D5000
Block diagram/Schéma de principe/Blockdeagramm
Single
Stereo
D / A
D / A
A / D
LEVEL METER
Lch MIX
BALANCE
OUTPUT L
OUTPUT R
KEY LCD LED
BYPASS
PGM INC/DEC
TRIGGER
FOOT SWITCH
DSP
CPU
IN
OUT/THRU
MIDI
CLIP
- 6
-12
-18
-24
-30
-36
-42
L INPUT R
A / D
Rch MIX
BALANCE
LR
Level/Polarity
Level/Polarity
Level/Polarity
MOD
PAN
PAN
PAN
Delay
123
FB Level/Polarity/Type
Out Level
Out Level
21
3
21
3
D5000 Block Diagram (mono type)
-20/+4dBm
FB Level/Polarity/Type
FB Level/Polarity/Type
FB Level/Polarity/Type
FB Level/Polarity/Type
FB Level/Polarity/Type
Level/Polarity
Level/Polarity
Level/Polarity
PAN
PAN
PAN
LPF
456
DELAY TIME : 0 - 10400.00ms
1994.04.26
BYPASS
Lch INPUT
Rch INPUT
Rch
INPUT
LEVEL
Lch
INPUT
LEVEL
12
3
12
3
-20/+4dBm
INPUT MODE
HPF
LPFHPF
LPFHPF
LPFHPF
LPFHPF
LPFHPF
LPFHPF
LPF HPF
A / D
OUTPUT R
KEY LCD LED
BYPASS
PGM INC/DEC
TRIGGER
FOOT SWITCH
DSP
CPU
IN
OUT/THRU
MIDI
A / D
LR
Level/Polarity
Level/Polarity
Level/Polarity
MOD
PAN
PAN
PAN
Delay(Lch)
123
FB Level/Polarity/Type
21
3
21
3
D5000 Block Diagram (stereo type)
-20/+4dBm
FB Level/Polarity/Type
FB Level/Polarity/Type
FB Level/Polarity/Type
FB Level/Polarity/Type
FB Level/Polarity/Type
Level/Polarity
Level/Polarity
Level/Polarity
PAN
PAN
PAN
MOD
Delay(Rch)
123
DELAY TIME : 0 - 5200.00ms
D / A
D / A
Lch MIX
BALANCE
Rch MIX
BALANCE
Lch INPUT
Rch INPUT
Rch
INPUT
LEVEL
Lch
INPUT
LEVEL
12
3
12
3
-20/+4dBm
LEVEL METER
CLIP
- 6
-12
-18
-24
-30
-36
-42
L INPUT R
BYPASSINPUT MODE
1994.04.26
LPFHPF
LPFHPF
LPFHPF
LPFHPF
LPFHPF
LPFHPF
Out Level
Out Level
LPF HPF
LPF HPF
OUTPUT L

Other manuals for Yamaha D5000

Related product manuals